Art. 1 Zusätzliche grundlegende Anforderungen
Die anwendbaren zusätzlichen grundlegenden Anforderungen nach Artikel 7 Absatz 3 FAV und die betreffenden Funkanlagen sind in Anhang 1 aufgeführt.
784.101.21
vom 26. Mai 2016 (Stand am 1. Januar 2025)
Das Bundesamt für Kommunikation (BAKOM),
gestützt auf Artikel 31 Absatz 5 des Fernmeldegesetzes vom 30. April 19971 (FMG)
und auf die Artikel 3, 7 Absatz 3, 8 Absatz 2, 17 Absatz 4, 19 Absatz 6, 26 Absatz 5, 27 Absatz 1, 33 Absätze 1 und 3 und 35 der Verordnung vom 25. November 20152 über Fernmeldeanlagen (FAV),3
verordnet:
3 Fassung gemäss Ziff. I der V des BAKOM vom 21. Nov. 2017, in Kraft seit 1. Jan. 2018 (AS 2017 7137).
Die anwendbaren zusätzlichen grundlegenden Anforderungen nach Artikel 7 Absatz 3 FAV und die betreffenden Funkanlagen sind in Anhang 1 aufgeführt.
Funkanlagen, die nach Artikel 7 Absatz 2bis FAV mit einem einheitlichen Ladenetzteil kompatibel sein müssen, sind in Anhang 7 Ziffer 1 aufgeführt, die technischen Spezifikationen für Ladefunktionen in Anhang 7 Ziffer 2.
4 Eingefügt durch Ziff. I der V des BAKOM vom 23. Nov. 2023, in Kraft seit 1. Jan. 2024 (AS 2023 721).
1 Die anwendbaren technischen Vorschriften nach Artikel 3 Absatz 1 FAV für Schnittstellen sind in Anhang 2 aufgeführt.
2 Die Vorschriften betreffend die Lage der vorgeschriebenen Schnittstellen sind in Anhang 1 Ziffer 4 der Verordnung des Bundesamtes für Kommunikation vom 9. Dezember 19975 über Fernmeldedienste und Adressierungselemente aufgeführt.
1 Die Information zu Betriebsbeschränkungen auf der Verpackung nach Artikel 19 Absatz 3 FAV muss sichtbar und lesbar angebracht werden.
2 Für eine Funkanlage, die das schweizerische Konformitätskennzeichen gemäss Anhang 1 Ziffer 1 trägt, muss die Information in einer der folgenden Formen angebracht werden:
3 Für eine Funkanlage, die das ausländische Konformitätskennzeichen gemäss Anhang 1 Ziffer 2 trägt, muss die Information in einer der folgenden Formen angebracht werden:
4 Für eine Funkanlage, die beide Konformitätskennzeichen trägt, muss die Information in einer der Formen gemäss Absatz 3 angebracht werden.
6 Eingefügt durch Ziff. I der V des BAKOM vom 21. Nov. 2017, in Kraft seit 9. Aug. 2018 (AS 2017 7137).
Bei Funkanlagen nach Artikel 7 Absatz 2bis FAV, die mit Kabel aufladbar sind, müssen folgende Informationen angebracht werden:
7 Eingefügt durch Ziff. I der V des BAKOM vom 23. Nov. 2023, in Kraft seit 1. Jan. 2024 (AS 2023 721).
Die Konformitätsbewertungsstellen müssen an den Reglementierungstätigkeiten auf dem Gebiet der Funkanlagen und der Frequenzplanung der folgenden Stellen mitwirken:
1 Das Zulassungsverfahren nach Artikel 26 FAV ist in Anhang 4 aufgeführt.
2 Die anwendbaren technischen und administrativen Vorschriften für Funkanlagen, die dazu bestimmt sind, zur Wahrung der öffentlichen Sicherheit von Behörden nach Artikel 27 Absatz 4 FAV betrieben zu werden, sind in Anhang 5 aufgeführt.
1 Um eine Bewilligung für das Bereitstellen von Funkanlagen auf dem Markt zu erhalten, die dazu bestimmt sind, zur Wahrung der öffentlichen Sicherheit von Behörden betrieben zu werden (Art. 27 FAV), muss die Gesuchstellerin oder der Gesuchsteller über eine technische Leiterin oder einen technischen Leiter nach Artikel 32 Absatz 2 der Verordnung vom 18. November 20209 über die Nutzung des Funkfrequenzspektrums (VNF) verfügen.
2 Artikel 32 Absatz 3 VNF gilt sinngemäss.
8 Fassung gemäss Ziff. I der V des BAKOM vom 18. Nov. 2020, in Kraft seit 1. Jan. 2021 (AS 2020 5277).
Die technischen und administrativen Vorschriften über das Erstellen und Betreiben von leitungsgebundenen Fernmeldeanlagen mit Powerline-Communication-Technologie (PLC) nach Artikel 33 Absatz 1 FAV sind in Anhang 5 aufgeführt.
1 Funkanlagen nach Artikel 25 Absatz 1 Buchstabe a FAV dürfen nur an militärische Stellen, Zivilschutzorganisationen oder andere in ausserordentlichen Lagen handelnde Organisationen abgegeben werden. Bei der Abgabe muss eine Quittung ausgestellt werden.
2 Die im Handel erhältlichen, neuen oder gebrauchten Sendeanlagen für die Teilnahme am Amateurfunk dürfen nur abgegeben werden an:
3 Die Quittung muss die Anzahl der abgegebenen Funkanlagen, deren Marke und Typ, die Adresse und Unterschrift der Person, welcher die Funkanlagen abgegeben wurden, und gegebenenfalls das auf der vorgewiesenen Rechnung angegebene Rufzeichen enthalten. Die Quittung muss nicht unterzeichnet werden, wenn die Funkanlagen per Post zugestellt werden.13
4 Wer Funkanlagen nach Absatz 2 Buchstabe a abgibt, muss die Quittung zwei Jahre aufbewahren.
5 Wer Funkanlagen nach den Artikeln 6 Absatz 2 und 25 Absatz 1 Buchstabe a FAV abgibt, muss die Belege zur Bereitstellung auf dem Markt, insbesondere Lieferschein und Rechnung, fünf Jahre aufbewahren.
10 Fassung gemäss Ziff. I der V des BAKOM vom 5. Juli 2021, in Kraft seit 1. Sept. 2021 (AS 2021 475).
13 Fassung gemäss Ziff. I der V des BAKOM vom 5. Juli 2021, in Kraft seit 1. Sept. 2021 (AS 2021 475).
Gebrauchte Fernmeldeanlagen, für welche die anwendbaren technischen Normen wesentlich geändert haben (Art. 35 FAV), sowie die Vorschriften über ihr Erstellen und ihr Betreiben sind in Anhang 3 aufgeführt.
Wird eine bezeichnete technische Norm geändert, so veröffentlicht das BAKOM im Bundesblatt, ab welchem Zeitpunkt die Vermutung der Konformität für konforme Funkanlagen nach der vorangehenden Fassung dahinfällt.
Die Verordnung des Bundesamts für Kommunikation vom 14. Juni 200214 über Fernmeldeanlagen wird aufgehoben.
Handmobiltelefone mit fortgeschrittenen Rechenfähigkeiten, die der zusätzlichen grundlegenden Anforderung gemäss Artikel 7 Absatz 3 Buchstabe g FAV in Verbindung mit Anhang 1 Ziffer 6 nicht entsprechen, dürfen bis zum 16. März 2022 in Verkehr gebracht werden.
15 Eingefügt durch Ziff. I der V des BAKOM vom 12. Nov. 2019 (AS 2019 4241). Fassung gemäss Ziff. I der V des BAKOM vom 27. Juli 2020, in Kraft seit 1. Sept. 2020 (AS 2020 3563).
Funkanlagen, die den zusätzlichen grundlegenden Anforderungen nach Artikel 7 Absatz 3 Buchstaben d–f FAV in Verbindung mit Anhang 1 Ziffern 7–9 unterliegen, diese aber nicht erfüllen, dürfen bis zum 31. Juli 2025 in Verkehr gebracht werden.
16 Eingefügt durch Ziff. I der V des BAKOM vom 21. Juli 2022 (AS 2022 437). Fassung gemäss Ziff. I der V des BAKOM vom 23. Nov. 2023, in Kraft seit 1. Jan. 2024 (AS 2023 721).
Funkanlagen, die den technischen Spezifikationen nach Artikel 7 Absatz 2bis in Verbindung mit Anhang 7 Ziffern 1.1–1.12 unterliegen, diese aber nicht erfüllen, dürfen bis zum 27. Dezember 2024 in Verkehr gebracht werden, Funkanlagen nach Ziffer 1.13 bis zum 27. April 2026.
17 Eingefügt durch Ziff. I der V des BAKOM vom 23. Nov. 2023, in Kraft seit 1. Jan. 2024 (AS 2023 721). Berichtigung vom
Diese Verordnung tritt am 13. Juni 2016 in Kraft.
18 Fassung gemäss Ziff. II Abs. 1 der V des BAKOM vom 21. Juli 2022, in Kraft seit 1. Sept. 2022 (AS 2022 437).
(Art. 1)
Ziff. | Funkanlagen | Anwendbare zusätzliche grundlegende Anforderungen | Referenz/Quelle |
|---|---|---|---|
1 | Funkanlagen, die der regionalen Vereinbarung vom 18. April 201219 über den Binnenschifffahrtsfunk unterliegen | Art. 7 Abs. 3 Bst. g FAV | Entscheidung 2000/637/EG20 |
2 | Seefunkanlagen, die auf nicht dem internationalen Übereinkommen vom 1. November 197421 zum Schutz des menschlichen Lebens auf See (SOLAS-Übereinkommen) unterliegenden Schiffen zwecks Teilnahme am weltweiten Seenot‑ und Sicherheitsfunksystem (GMDSS) bestimmt sind | Art. 7 Abs. 3 Bst. g FAV | Beschluss 2013/638/EU22 |
3 | Lawinenverschüttetensuchgeräte mit einer Betriebsfrequenz von 457 kHz | Art. 7 Abs. 3 Bst. g FAV | Entscheidung 2001/148/EG23 |
4 | Funkanlagen des automatischen Schiffs-identifizierungssystems (AIS), die auf nicht dem SOLAS‑Übereinkommen unterliegenden Schiffen installiert sind | Art. 7 Abs. 3 Bst. g FAV | Entscheidung 2005/53/EG24 |
5 | Cospas-Sarsat-Ortungsbaken | Art. 7 Abs. 3 Bst. g FAV | Entscheidung 2005/631/EG25 |
6 | Handmobiltelefone mit fortgeschrittenen Rechenfähigkeiten | Art. 7 Abs. 3 Bst. g FAV | Delegierte Verordnung (EU) 2019/32026 |
7 | Funkanlagen, die direkt oder indirekt mit dem Internet verbunden sind. Ausgenommen sind: | Art. 7 Abs. 3 Bst. d FAV | Delegierte Verordnung (EU) 2022/3029 |
8 | Folgende Funkanlagen, sofern diese personenbezogene Daten verarbeiten können: | Art. 7 Abs. 3 Bst. e FAV | Delegierte Verordnung (EU) 2022/3030 |
Ausgenommen sind:
| |||
9 | Mit dem Internet verbundene Funkanlagen, welche die Übertragung von Geld, monetären Werten oder sogar virtuellen Währungen gemäss der Definition nach Artikel 2 Buchstabe d der Richtlinie (EU) 2019/71337 ermöglichen. Ausgenommen sind:
| Art. 7 Abs. 3 Bst. f FAV | Delegierte Verordnung (EU) 2022/3043 |
19 Der Text der Vereinbarung kann beim Bundesamt für Kommunikation, Zukunftstrasse 44, Postfach, 2501 Biel, gegen Bezahlung bezogen oder kostenlos unter www.rainwat.bipt.be > Arrangement abgerufen werden.
20 2000/637/EG: Entscheidung der Kommission vom 22. September 2000 über die Anwendung von Artikel 3 Absatz 3 Buchstabe e der Richtlinie 1999/5/EG auf Funkanlagen, die der Regionalen Vereinbarung über den Binnenschifffahrtsfunk unterliegen, Fassung gemäss ABl. L 269 vom 21.10.2000, S. 50.
22 2013/638/EU: Beschluss der Kommission vom 12. August 2013 über grundlegende Anforderungen an Seefunkanlagen, die auf nicht dem SOLAS-Übereinkommen unterliegenden Schiffen eingesetzt werden und am weltweiten Seenot- und Sicherheitsfunksystem (GMDSS) teilnehmen sollen, Fassung gemäss ABl. L 296 vom 7.11.2013, S. 22.
23 2001/148/EG: Entscheidung der Kommission vom 21. Februar 2001 über die Anwendung von Artikel 3 Absatz 3 Buchstabe e der Richtlinie 1999/5/EG auf Lawinenverschüttetensuchgeräte, Fassung gemäss ABl. L 55 vom 24.02.2001, S. 65.
24 2005/53/EG: Entscheidung der Kommission vom 25. Januar 2005 über die Anwendung von Artikel 3 Absatz 3 Buchstabe e der Richtlinie 1999/5/EG des Europäischen Parlaments und des Rates auf Funkanlagen des automatischen Schiffsidentifizierungssystems (AIS), Fassung gemäss ABl. L 22 vom 26.01.2005, S. 14.
25 2005/631/EG: Entscheidung der Kommission vom 29. August 2005 über grundlegende Anforderungen in Sinne der Richtlinie 1999/5/EG des Europäischen Parlaments und des Rates zur Sicherstellung des Zugangs von Cospas-Sarsat-Ortungsbaken zu Notfalldiensten, Fassung gemäss ABl. L 225 vom 31.8.2005, S. 28.
26 Delegierte Verordnung (EU) 2019/320 der Kommission vom 12. Dezember 2018 zur Ergänzung der Richtlinie 2014/53/EU des Europäischen Parlaments und des Rates hinsichtlich der Anwendung der in Artikel 3 Absatz 3 Buchstabe g der Richtlinie genannten grundlegenden Anforderungen zur Gewährleistung der Anruferstandortbestimmung bei Notrufen über Mobilgeräte, Fassung gemäss ABl. L 55 vom 25.2.2019, S. 1.
27 Verordnung (EU) 2017/745 des Europäischen Parlaments und des Rates vom 5. April 2017 über Medizinprodukte, zur Änderung der Richtlinie 2001/83/EG, der Verordnung (EG) Nr. 178/2002 und der Verordnung (EG) Nr. 1223/2009 und zur Aufhebung der Richtlinien 90/385/EWG und 93/42/EWG des Rates, ABl. L 117 vom 5.5.2017, S. 1; zuletzt geändert durch die Verordnung (EU) 2020/561, ABl. L 130 vom 24.4.2020, S. 18.
28 Verordnung (EU) 2017/746 des Europäischen Parlaments und des Rates vom 5. April 2017 über In-vitro-Diagnostika und zur Aufhebung der Richtlinie 98/79/EG und des Beschlusses 2010/227/EU der Kommission, ABl. L 117 vom 5.5.2017, S. 176; zuletzt geändert durch die Verordnung (EU) 2022/112, ABl. L 19 vom 28.1.2022, S. 3.
29 Delegierte Verordnung (EU) 2022/30 der Kommission vom 29. Oktober 2021 zur Ergänzung der Richtlinie 2014/53/EU des Europäischen Parlaments und des Rates im Hinblick auf die Anwendung der grundlegenden Anforderungen, auf die in Artikel 3 Absatz 3 Buchstaben d, e und f der Richtlinie Bezug genommen wird, Fassung gemäss ABl. L 7 vom 12.1.2022, S. 6.
30 Siehe Fussnote zu Ziff. 7
32 Siehe Fussnote zu Ziff. 7
33 Siehe Fussnote zu Ziff. 7
34 Verordnung (EU) 2018/1139 des Europäischen Parlaments und des Rates vom 4. Juli 2018 zur Festlegung gemeinsamer Vorschriften für die Zivilluftfahrt und zur Errichtung einer Agentur der Europäischen Union für Flugsicherheit sowie zur Änderung der Verordnungen (EG) Nr. 2111/2005, (EG) Nr. 1008/2008, (EU) Nr. 996/2010, (EU) Nr. 376/2014 und der Richtlinien 2014/30/EU und 2014/53/EU des Europäischen Parlaments und des Rates, und zur Aufhebung der Verordnungen (EG) Nr. 552/2004 und (EG) Nr. 216/2008 des Europäischen Parlaments und des Rates und der Verordnung (EWG) Nr. 3922/91 des Rates, in der für die Schweiz verbindlichen Fassung gemäss Ziffer 3 des Anhangs zum Abkommen vom 21. Juni 1999 zwischen der Schweizerischen Eidgenossenschaft und der Europäischen Gemeinschaft über den Luftverkehr (SR 0.748.127.192.68).
36 Richtlinie (EU) 2019/520 des Europäischen Parlaments und des Rates vom 19. März 2019 über die Interoperabilität elektronischer Mautsysteme und die Erleichterung des grenzüberschreitenden Informationsaustauschs über die Nichtzahlung von Strassenbenutzungsgebühren in der Union; zuletzt geändert durch die Richtlinie (EU) 2022/362, ABl. L 69 vom 4.3.2022, S. 1.
37 Richtlinie (EU) 2019/713 des Europäischen Parlaments und des Rates vom 17. April 2019 zur Bekämpfung von Betrug und Fälschung im Zusammenhang mit unbaren Zahlungsmitteln und zur Ersetzung des Rahmenbeschlusses 2001/413/JI des Rates, Fassung gemäss ABl. L 123 vom 10.5.2019, S. 18.
38 Siehe Fussnote zu Ziff. 7
39 Siehe Fussnote zu Ziff. 7
40 Siehe Fussnote zu Ziff. 8
41 Siehe Fussnote zu Ziff. 8
42 Siehe Fussnote zu Ziff. 8
43 Siehe Fussnote zu Ziff. 7
44 Fassung gemäss Ziff. II der V des BAKOM vom 18. Nov. 2020 (AS 2020 5277). Bereinigt gemäss Ziff. I der V des BAKOM vom 23. März 2021 (AS 2021 196), Ziff. I der V des BAKOM vom 11. Nov. 2021 (AS 2021 738), Ziff. II Abs. 2 der V des BAKOM vom 21. Juli 2022 (AS 2022 437), Ziff. I der V des BAKOM vom 8. Nov. 2022 (AS 2022 670), vom 6. Nov. 2023 (AS 2023 665) und vom 12. Nov. 2024, in Kraft seit 1. Jan. 2025 (AS 2024 694).
(Art. 2 Abs. 1)
45 Die anwendbaren Vorschriften für Schnittstellen können beim Bundesamt für Kommunikation, Zukunftstrasse 44, Postfach, 2501 Biel, kostenlos bezogen werden und sind im Internet abrufbar unter: www.bakom.ch > Das BAKOM > Rechtliche Grundlagen > Vollzugspraxis > Geräte und Anlagen > Technische Schnittstellenanforderungen (RIR).
Nr. | Titel der technischen Anforderung | Ausgabe |
|---|---|---|
RIR0101 | Flugfunk | 10 |
RIR0102 | Flugnavigation | 10 |
RIR0103 | Überwachungssysteme Luftverkehr | 8 |
RIR0104 | Alarmsysteme Luftverkehr | 4 |
RIR0105 | Flugtelemetrie/Flugfernwirken | 3 |
RIR0201 | Terrestrische Rundfunksender | 17 |
RIR0203 | Funkanwendungen für Programmerstellung und bei Veranstaltungen (PMSE) | 23 |
RIR0301 | Punkt-zu-Multipunkt-Richtfunkanlagen | 12 |
RIR0302 | Punkt-zu-Punkt-Richtfunkanlagen | 31 |
RIR0501 | Digitale zellulare Telefonie | 20 |
RIR0503 | Drahtlose Telefone | 9 |
RIR0504 | Funkanlagen für Notfalldienste | 11 |
RIR0506 | Personensuchanlagen (Pager) | 9 |
RIR0507 | Betriebsfunkanlagen PMR/PAMR | 18 |
RIR0510 | Intelligente Transportsysteme (ITS) | 7 |
RIR0601 | Endgeräte für das weltweite Seenot- und Sicherheitsfunksystem | 10 |
RIR0603 | Maritime Kommunikation | 10 |
RIR0604 | Maritime Radionavigation | 11 |
RIR0702 | Wettersonden | 7 |
RIR0703 | Wetterradar | 8 |
RIR0705 | Wind-Profiler | 6 |
RIR0805 | Speiseverbindungen (Feeder links) | 2 |
RIR0806 | Terrestrische stationäre Satellitenfunkanlagen (FSS) | 18 |
RIR0808 | Terrestrische bewegliche Satellitenfunkanlagen (MSS) | 19 |
RIR0809 | Satellitennavigationssysteme (RNSS) | 4 |
RIR1001 | Alarmanlagen | 12 |
RIR1002 | Eisenbahnanwendungen | 12 |
RIR1003 | Suchen, Verfolgen und Erfassen von Daten | 18 |
RIR1004 | Funkortung | 18 |
RIR1005 | Induktive Anwendungen | 13 |
RIR1006 | Drahtlose Anwendungen im Gesundheitswesen | 19 |
RIR1007 | Modell-Fernsteuerungen | 9 |
RIR1008 | Allgemeiner Kurzstreckenfunk | 23 |
RIR1009 | Drahtlose Mikrofonanlagen | 26 |
RIR1010 | Breitband-Datenübertragungssysteme | 19 |
RIR1011 | Hochfrequenz-Identifikationsanlagen (RFID) | 12 |
RIR1012 | Transport- und Verkehrstelematik (TTT) | 16 |
RIR1013 | Drahtlose Audioanlagen | 17 |
RIR1021 | Fernsteuern, Fernmessen und Datenübertragung mit höheren Leistungen | 12 |
RIR1023 | Ultra-Breitband-Anwendungen (UWB) | 12 |
RIR1101 | Amateurfunkanlagen | 14 |
RIR1102 | CB-Funkanlagen | 9 |
RIR1108 | Funkortung (zivil) | 9 |
47 Bereinigt gemäss Ziff. I der V des BAKOM vom 11. Nov. 2021 (AS 2021 738), Ziff. II Abs. 1 der V des BAKOM vom 23. Nov. 2023 (AS 2023 721) und Ziff. I der V des BAKOM vom 12. Nov. 2024, in Kraft seit 1. Jan. 2025 (AS 2024 694).
(Art. 4 Abs. 1)
48 Das Formular kann beim Bundesamt für Kommunikation, Zukunftstrasse 44, Postfach, 2501 Biel bezogen werden.
49 Das Formular kann beim Bundesamt für Kommunikation, Zukunftstrasse 44, Postfach, 2501 Biel bezogen werden.
Das BAKOM kann unter Berücksichtigung der Risiken und des Investitionsschutzes die Zulassung aus berechtigten Gründen entschädigungslos widerrufen, insbesondere bei:
50 Fassung gemäss Ziff. II der V des BAKOM vom 18. Nov. 2020 (AS 2020 5277). Bereinigt gemäss Ziff. I der V des BAKOM vom 12. Nov. 2024, in Kraft seit 1. Jan. 2025 (AS 2024 694).
(Art. 4 Abs. 2 und Art. 6)
51 Die technischen und administrativen Vorschriften können beim Bundesamt für Kommunikation, Zukunftstrasse 44, Postfach, 2501 Biel, kostenlos bezogen werden und sind im Internet abrufbar unter: www.bakom.ch > Das BAKOM > Rechtliche Grundlagen > Vollzugspraxis > Geräte und Anlagen > Andere Anforderungen.
Nr. | Titel der technischen Anforderung | Ausgabe |
|---|---|---|
TAV 5.1 (Art. 6) | Technische und administrative Vorschriften betreffend die leitungsgebundenen Fernmeldeanlagen mit Powerline-Communication-Technologie (PLC) | 5 |
TAV 5.2 (Art. 4 Abs. 2) | Technische und administrative Vorschriften betreffend die Funkanlagen, die dazu bestimmt sind, zur Wahrung der öffentlichen Sicherheit von Behörden betrieben zu werden: Fest installierte störende Anlagen | 5 |
TAV 5.3 (Art. 4 Abs. 2) | Technische und administrative Vorschriften betreffend die Funkanlagen, die dazu bestimmt sind, zur Wahrung der öffentlichen Sicherheit von Behörden betrieben zu werden: Mobile störende Anlagen | 5 |
TAV 5.4 (Art. 4 Abs. 2) | Technische und administrative Vorschriften betreffend die Funkanlagen, die dazu bestimmt sind, zur Wahrung der öffentlichen Sicherheit von Behörden betrieben zu werden: Ortungs- und Überwachungssysteme sowie Daten- und Sprechfunkanlagen | 4 |
52 Eingefügt durch Ziff. II Abs. 3 der V des BAKOM vom 21. Nov. 2017, in Kraft seit 9. Aug. 2018 (AS 2017 7137 7787).
(Art. 2a)
1 Das Piktogramm hat die Form einer Tabelle.
2 Es enthält das folgende Symbol:

3 Für eine Funkanlage, die das schweizerische Konformitätskennzeichen gemäss Anhang 1 Ziffer 1 FAV trägt, enthält es neben oder unter dem Symbol gemäss Absatz 2 die Abkürzung der Schweiz (CH).
4 Für eine Funkanlage, die das ausländische Konformitätskennzeichen gemäss Anhang 1 Ziffer 2 FAV trägt, enthält es neben oder unter dem Symbol gemäss Absatz 2 die Abkürzung der Staaten in denen Betriebsbeschränkungen vorhanden sind.
5 Die Abkürzungen der Staaten gemäss Absatz 4 sind im Anhang II der Durchführungsverordnung (EU) 2017/135453; sie werden ergänzt durch die folgenden Staaten:
6 Änderungen in der Darstellung des Piktogramms und dessen Inhalt (z.B. Farbe, massive oder hohle Darstellung, Linienstärke) sind zulässig, sofern sie sichtbar und lesbar bleiben.
7 Beispiel mit informativem Charakter:
| ||
CH | FR | ES |
IT | DK | DE |
| CH | IT | DE |
53 Durchführungsverordnung (EU) 2017/1354 der Kommission vom 20. Juli 2017 zur Festlegung der Aufmachung von Informationen gemäss Artikel 10 Absatz 10 der Richtlinie 2014/53/EU des Europäischen Parlaments und des Rates, Fassung gemäss ABl. L 190 vom 21.7.2017, S. 7.
54 Eingefügt durch Ziff. II Abs. 2 der V des BAKOM vom 23. Nov. 2023 (AS 2023 721). Bereinigt gemäss Ziff. I der V des BAKOM vom 12. Nov. 2024, in Kraft seit 1. Jan. 2025 (AS 2024 694).
(Art. 1a und 2b)
Nr. | Kategorie |
|---|---|
1. | Mobiltelefone |
2. | Tablets |
3. | Digitalkameras |
4. | Kopfhörer |
5. | Headsets |
6. | Tragbare Videokonsolen |
7. | Tragbare Lautsprecher |
8. | E-Reader |
9. | Tastaturen |
10. | Mäuse |
11. | Tragbare Navigationssysteme |
12. | Ohrhörer |
13. | Laptops |
Ziff. | Kategorie | Anwendbare technische Spezifikationen |
|---|---|---|
1. | Funkanlagen, die mit Kabel aufladbar sind: | Die Funkanlagen müssen:
|
2. | Funkanlagen, die mit Kabel mit einer Spannung von mehr als 5 Volt, einer Stromstärke von mehr als 3 Ampere oder einer Leistung von mehr als 15 Watt aufladbar sind: | Die Funkanlagen müssen:
|
Ziff. | Kategorie | Angaben zu den Ladefunktionen und zu den kompatiblen Ladenetzteilen |
|---|---|---|
1. | Bei Kategorien, die in den Anwendungsbereich von Artikel 7 Absatz 2bis FAV fallen und den Anforderungen gemäss Anhang 2 unterliegen, sind folgende Informationen anzugeben: | Eine Beschreibung der Anforderungen an die Stromversorgung der mit dieser Funkanlage verwendbaren Ladenetzteile, einschliesslich der zum Aufladen der Funkanlage erforderlichen Mindestleistung und der zum Aufladen der Funkanlage bei maximaler Ladegeschwindigkeit erforderlichen Höchstleistung, angegeben in Watt, mit dem folgenden Wortlaut: Die Leistung des Ladegeräts muss von einer von der Funkanlage benötigten Mindestleistung von [xx] Watt bis zu einer zum Erreichen der maximalen Ladegeschwindigkeit benötigten Höchstleistung von [yy] Watt reichen. Die Wattzahl gibt jeweils die benötigte Mindestleistung und die zum Erreichen der maximalen Ladegeschwindigkeit benötigte Höchstleistung an. |
2. | Bei Funkanlagen, die in den Anwendungsbereich von Artikel 7 Absatz 2bis FAV fallen und den Anforderungen gemäss Anhang 7 Ziffer 2 unterliegen, sind zusätzlich folgende Informationen anzugeben: | Eine Beschreibung der Spezifikationen für die Ladefunktion, einschliesslich der Angabe, dass das Ladeprotokoll USB Power Delivery unterstützt wird, mit dem Wortlaut «Schnellladefähig über USB-PD» und unter Angabe aller anderen unterstützten Ladeprotokolle mit der jeweiligen Bezeichnung in Textform. |
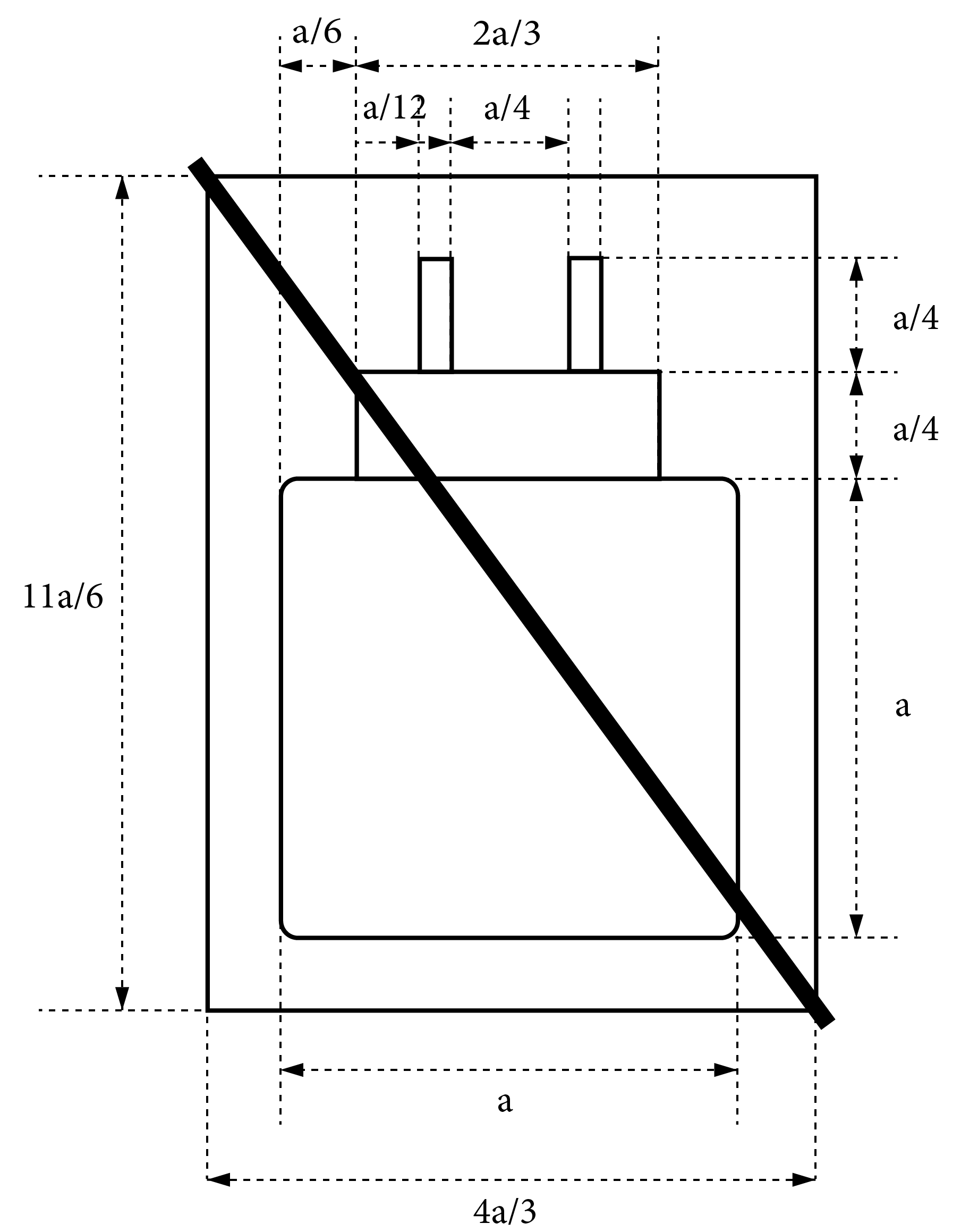
1. Das Piktogramm hat folgendes Format und enthält das folgende Symbol:


2. Sofern das Piktogramm erkennbar und verständlich bleibt, sind z. B. in Bezug auf Farbe, ausgefüllte Darstellung, Umriss und Linienstärke Varianten zulässig. Wird das Piktogramm kleiner oder grösser dargestellt, müssen die Grössenverhältnisse der Darstellung unter Ziffer 1 gewahrt werden. Die Abmessung «a» muss auch bei Varianten mindestens 7 mm betragen.
1. Das Etikett hat folgendes Format und enthält das folgende Symbol:

2. Anstelle der Buchstaben XX ist der Zahlenwert der zum Aufladen der Funkanlage benötigten Mindestleistung anzugeben, die ein Ladenetzteil zum Laden der Funkanlage liefern muss. Anstelle der Buchstaben YY ist der Zahlenwert der von der Funkanlage zum Erreichen der maximalen Ladegeschwindigkeit benötigten Höchstleistung anzugeben, die ein Ladenetzeil mindestens liefern muss, damit diese maximale Ladegeschwindigkeit erreicht wird. Die Abkürzung USB PD (USB Power Delivery) ist anzugeben, wenn die Funkanlage dieses Schnellladeprotokoll unterstützt.
3. Sofern das Etikett erkennbar und verständlich bleibt, sind z. B. in Bezug auf Farbe, ausgefüllte Darstellung, Umriss und Linienstärke Varianten zulässig. Wird das Etikett kleiner oder grösser dargestellt, so müssen die Grössenverhältnisse der Darstellung unter Ziffer 1 gewahrt werden. Die Abmessung «a» muss auch bei Varianten mindestens 7 mm betragen.