Art. 1 Zweck
Diese Verordnung bezweckt die Vermeidung von Gefahren, die von elektrischen Leitungen sowie von der Annäherung, Parallelführung und Kreuzung elektrischer Leitungen unter sich, mit anderen Anlagen oder mit Bauten ausgehen.
734.31
vom 30. März 1994 (Stand am 1. Juli 2021)
Der Schweizerische Bundesrat,
gestützt auf die Artikel 3, 15b Absatz 3 und 15c Absätze 2 und 3
des Elektrizitätsgesetzes vom 24. Juni 19021 (EleG),2
verordnet:
1 SR 734.0
2 Fassung gemäss Ziff. I der V vom 3. April 2019, in Kraft seit 1. Juni 2019 (AS 2019 1377).
Diese Verordnung bezweckt die Vermeidung von Gefahren, die von elektrischen Leitungen sowie von der Annäherung, Parallelführung und Kreuzung elektrischer Leitungen unter sich, mit anderen Anlagen oder mit Bauten ausgehen.
1 Diese Verordnung regelt Erstellung, Betrieb und Instandhaltung von elektrischen Leitungen.
2 Die Bestimmungen für die Erstellung gelten für bestehende Leitungen, wenn:
3 Können einzelne Bestimmungen dieser Verordnung nur unter ausserordentlichen Schwierigkeiten befolgt werden oder erweisen sie sich für die technische Entwicklung oder den Schutz der Umwelt als hinderlich, so kann das Eidgenössische Departement für Umwelt, Verkehr, Energie und Kommunikation3 (Departement) oder in weniger bedeutenden Fällen die zuständige Kontrollstelle (Art. 21 Elektrizitätsgesetz) auf begründetes Gesuch hin Abweichungen bewilligen.
4 Für Lichtwellenleiter gelten sinngemäss die Bestimmungen über Schwachstromleitungen.
5 Diese Verordnung gilt nicht für die elektrischen Anlagen nach Artikel 42 Absatz 1 der Eisenbahnverordnung vom 23. November 19834.5
3 Bereinigung gemäss nicht veröffentlichtem BRB vom 19. Dez 1997.
5 Eingefügt durch Beilage 2 Ziff. II 4 der V vom 16. Nov. 2011, in Kraft seit 1. Juli 2012 (AS 2011 6233).
1 Für Erstellung, Betrieb und Instandhaltung von elektrischen Leitungen gelten zudem die Bestimmungen der Starkstromverordnung vom 30. März 19946 sowie der Schwachstromverordnung vom 30. März 19947.
2 ...8
6 SR 734.2
7 SR 734.1
8 Aufgehoben durch Beilage 2 Ziff. II 4 der V vom 16. Nov. 2011, mit Wirkung seit 1. Juli 2012 (AS 2011 6233).
Die in dieser Verordnung verwendeten Begriffe sind in Anhang 1 definiert.
Elektrische Leitungen dürfen bei bestimmungsgemässem Betrieb sowie in voraussehbaren Störfällen weder Personen noch Sachen gefährden.
1 Wo diese Verordnung keine Vorschriften enthält, gelten die anerkannten Regeln der Technik.
2 Als anerkannte Regeln der Technik gelten insbesondere die Normen von IEC9 und CENELEC10. Wo international harmonisierte Normen fehlen, gelten die schweizerischen Normen11.12
3 Bestehen keine spezifischen technischen Normen, so sind sinngemäss anwendbare Normen oder allfällige technische Weisungen zu berücksichtigen.13
9 International Electrotechnical Commission.
10 Comité Européen de Normalisation ELECtrotechnique.
11 Die Liste der Titel der Normen sowie deren Texte können kostenlos eingesehen und gegen Bezahlung bezogen werden bei der Schweizerischen Normen-Vereinigung (SNV), Sulzerallee 70, 8404 Winterthur; www.snv.ch.
12 Fassung gemäss Anhang Ziff. 5 der V vom 8. Dez. 1997, in Kraft seit 1. Jan. 1998 (AS 1998 54).
13 Fassung gemäss Anhang Ziff. 5 der V vom 8. Dez. 1997, in Kraft seit 1. Jan. 1998 (AS 1998 54).
1 Elektrische Leitungen müssen, soweit dies ohne ausserordentlichen Aufwand möglich ist, so erstellt, geändert und instand gehalten werden, dass sie in allen Betriebszuständen den bestimmungsgemässen Betrieb anderer Stark- oder Schwachstromanlagen und anderer elektrotechnischer Einrichtungen nicht in unzumutbarer Weise stören.
2 Störungsgefährdete elektrische Leitungen müssen, soweit dies ohne aussergewöhnlichen Aufwand möglich ist, so erstellt, geändert und instand gehalten werden, dass ihr bestimmungsgemässer Betrieb in allen Betriebszuständen nicht durch andere elektrotechnische Anlagen und Einrichtungen in unzumutbarer Weise gestört wird.
3 Treten trotz Beachtung der anerkannten Regeln der Technik unzumutbare Störungen auf, die nur mit grossem Aufwand beseitigt werden können, so suchen sich die Beteiligten zu verständigen. Kommt keine Einigung zustande, so entscheidet das Departement. Es hört zuvor die beteiligten Kontrollstellen an.
4 Für die elektromagnetische Verträglichkeit gelten die Bestimmungen der Verordnung vom 9. April 199714 über die elektromagnetische Verträglichkeit.15
14 [AS 1997 1008, 2000 762 Ziff. I 6 3012 Ziff. I Art. 34 Abs. 3. AS 2009 6243 Anhang 3 Ziff. I]. Siehe heute: die V vom 25. Nov. 2015 (SR 734.5).
15 Eingefügt durch Ziff. 4 des Anhanges der V über die elektromagnetische Verträglichkeit vom 9. April 1997, in Kraft seit 1. Mai 1997 (AS 1997 1008).
1 Bei Annäherungen, Parallelführungen und Kreuzungen von elektrischen Leitungen unter sich, mit anderen Anlagen oder mit Bauten sind unzulässige gegenseitige Beeinflussungen oder Beschädigungen zu vermeiden.
2 Werden elektrische Leitungen mit anderen leitfähigen Systemen parallel geführt, müssen Schutzvorkehren gegen unzulässige induzierte Längsspannungen getroffen werden.
3 Müssen elektrische Leitungen im Einflussbereich fremder Erdungsanlagen erstellt werden, so sind sie entsprechend den grössten voraussehbaren Spannungen zu isolieren. Über Kabelmäntel und Schutzrohre dürfen keine Fremdströme fliessen.
4 Sind beim Zusammentreffen von elektrischen Leitungen Sicherungsmassnahmen zu treffen und können sich die Betriebsinhaber über die Verteilung der Kosten nicht einigen, so entscheidet das Bundesamt für Energie16 (Art. 17 Elektrizitätsgesetz).
16 Die Bezeichnung der Verwaltungseinheit wurde in Anwendung von Art. 16 Abs. 3 der Publikationsverordnung vom 17. Nov. 2004 (AS 2004 4937) angepasst.
1 Bei der Projektierung von elektrischen Leitungen muss der Betriebsinhaber die Leitungen und Infrastrukturanlagen im Einflussbereich der geplanten Leitung erheben.
2 Treffen elektrische Leitungen mit anderen Leitungen, Anlagen oder Objekten zusammen und kann dadurch die Sicherheit beeinträchtigt werden, so muss der Betriebsinhaber der Leitung die Kontrollstelle frühzeitig schriftlich davon in Kenntnis setzen und über die vorgesehenen Schutzmassnahmen orientieren.
3 Die Kontrollstelle entscheidet über die Zulässigkeit der geplanten Anordnung und über die Schutzmassnahmen.
4 Die Kontrollstelle kann beim Zusammentreffen von Starkstromleitungen mit anderen Anlagen und Objekten zusätzliche Schutzmassnahmen nach Anhang 2 vorschreiben.
1 Entstehen bei Erstellung, Betrieb oder Instandhaltung elektrischer Leitungen, anderer elektrischer Anlagen oder Anlagen wie Bahnen, Luftseilbahnen, Rohrleitungen und Nationalstrassen vorübergehend gegenseitige Gefährdungen, so müssen sich die Betriebsinhaber der beteiligten Anlagen gegenseitig informieren und über die erforderlichen Schutzmassnahmen verständigen.
2 Der Betriebsinhaber der Leitung meldet der Kontrollstelle das Zusammentreffen und die vereinbarten Schutzmassnahmen.
1 Beeinträchtigungen des Landschaftsbilds sowie der Natur und Umwelt durch elektrische Leitungen mit einer Nennspannung von 220 kV oder höher können auf Antrag des Betriebsinhabers dieser Leitungen durch Ersatzmassnahmen an Starkstromanlagen Dritter kompensiert werden (Art. 15b Abs. 2 EleG). Der Betriebsinhaber zieht dabei insbesondere die folgenden Ersatzmassnahmen an Leitungen in Betracht:
2 Er beteiligt den Dritten angemessen an der Planung und strebt mit seiner Zustimmung einen gemeinsamen Antrag an. Verweigert der Dritte seine Zustimmung, so stellt der Betriebsinhaber allein Antrag.
3 Er reicht den Antrag sowie sämtliche Unterlagen, die für die Beurteilung der Ersatzmassnahmen notwendig sind, mit seinem Plangenehmigungsgesuch ein.
4 Sämtliche dem Dritten durch die Ersatzmassnahme entstehenden Nachteile sind unter Vorteilsanrechnung voll zu entschädigen.
17 Fassung gemäss Ziff. I der V vom 3. April 2019, in Kraft seit 1. Juni 2019 (AS 2019 1377).
Die für die Erteilung einer Baubewilligung oder die Genehmigung von Nutzungsänderungen von Grundstücken zuständige kommunale oder kantonale Behörde muss vor der Erteilung einer Baubewilligung oder der Genehmigung einer Nutzungsänderung die Betreiberin einer Hochspannungsleitung anhören, wenn:
18 Eingefügt durch Ziff. II 2 der V vom 24. Juni 2009, in Kraft seit 1. Sept. 2009 (AS 2009 3507).
19 SR 814.710
20 Eingefügt durch Ziff. I der V vom 3. April 2019, in Kraft seit 1. Juni 2020 (AS 2019 1377).
1 Ob ein Vorhaben an einer Leitung mit einer Nennspannung von unter 220 kV und einer Frequenz von 50 Hz als Erdkabel oder als Freileitung auszuführen ist, bestimmt sich insbesondere nach Artikel 15c des Elektrizitätsgesetzes sowie nach den Bestimmungen dieses Kapitels.21
2 Der Mehrkostenfaktor gemäss Artikel 15c Absatz 2 des Elektrizitätsgesetzes beträgt 2,0.
21 Fassung gemäss Ziff. I der V vom 4. Juni 2021, in Kraft seit 1. Juli 2021 (AS 2021 330).
1 Der Mehrkostenfaktor eines konkreten Vorhabens wird aus dem Verhältnis der voraussichtlichen Gesamtkosten der Ausführung des Vorhabens als Erdkabel zu den voraussichtlichen Gesamtkosten der Ausführung als Freileitung ermittelt.
2 Zu den voraussichtlichen Gesamtkosten gehören die folgenden Kosten im Zusammenhang mit dem Vorhaben:
3 Die voraussichtlichen Gesamtkosten sind über einen Zeitraum zu ermitteln, welcher der Lebensdauer der langlebigsten Komponente der zu vergleichenden Ausführungen entspricht.
4 Die Kosten nach Absatz 2 sind unter Anwendung der Kapitalwertmethode zu bewerten. Dabei ist ein Diskontierungssatz einzusetzen, der dem durchschnittlichen Kapitalkostensatz nach Artikel 13 Absatz 3 Buchstabe b der Stromversorgungsverordnung vom 14. März 200822, abzüglich des im Zeitpunkt des Vergleichs geltenden Teuerungssatzes der Konsumentenpreise, entspricht.
5 Für die Ermittlung der Kosten der Energieverluste ist der Preis des langfristigsten Future-Produkts für Lieferverträge für Strom am schweizerischen Terminmarkt zu verwenden.
22 SR 734.71
1 Ist der Mehrkostenfaktor eines konkreten Vorhabens nicht grösser als der Mehrkostenfaktor nach Artikel 11b, so ist das Vorhaben als Erdkabel auszuführen.
2 Das Vorhaben ist trotz Einhaltung des Mehrkostenfaktors als Freileitung auszuführen, sofern:
Ein konkretes Vorhaben kann trotz Überschreitung des Mehrkostenfaktors teilweise oder vollständig als Erdkabel ausgeführt werden, wenn der Betriebsinhaber im Plangenehmigungsverfahren nachweist, dass ein Dritter die den Mehrkostenfaktor überschreitenden Kosten trägt.
23 Fassung gemäss Ziff. I der V vom 4. Juni 2021, in Kraft seit 1. Juli 2021 (AS 2021 330).
24 Ursprünglich 1. Kapitel.
1 Leitungen sind so zu erstellen, dass sie auch bei starkem Wind oder Schneefall nicht durch Bäume und Sträucher beeinträchtigt werden.
2 Leiter dürfen nur an den für sie erstellten und zugelassenen Tragwerken befestigt werden.
Der Abstand der Leiter unter sich und zu den Tragwerken muss so bemessen sein, dass Kurzschlüsse auch bei ausserordentlichen Bewegungen der Leiter (Windauslenkung, Abwurf von Zusatzlasten) ausgeschlossen sind.
1 Leiter und Luftkabel müssen sowohl beim grössten Durchhang wie auch bei Windauslenkung mindestens die Bodenabstände nach Anhang 3 aufweisen.
2 Bei im Winter benutzbaren Transportwegen, bei markierten Skipisten und bei viel begangenen Wanderwegen sind auch die mittleren Schneehöhen zu berücksichtigen.
3 Die Kontrollstelle kann in begründeten Ausnahmefällen kleinere Abstände bewilligen. Sie bestimmt dabei die zu treffenden Schutzmassnahmen.
Bäume unter oder neben Leitungen sind zurückzuschneiden oder zu beseitigen, wenn dies zum Schutz der Personen, welche die Bäume besorgen, oder zur Gewährleistung der Betriebssicherheit der Leitung notwendig ist.
Für den Abstand von Schwachstromfreileitungen zu Gewässern gilt Artikel 40.
1 Die Beanspruchung der Leiter und Tragelemente darf die höchstzulässige Zugbeanspruchung der verwendeten Werkstoffe nicht überschreiten.
2 Die Leiter und Tragelemente müssen eine Bruchkraft von mindestens 1,25 kN aufweisen.
1 Die maximal zu erwartende Zugbeanspruchung eines Leiters oder Kabels ist aufgrund folgender Annahmen zu berechnen:
2 Sind aufgrund der örtlichen Verhältnisse tiefere Temperaturen oder grössere Zusatzlasten zu erwarten, so sind diese der Berechnung zugrunde zu legen.
3 Bei Luftkabeln gelten die Temperaturannahmen immer für das Tragelement. Das Kabelgewicht bzw. die nicht als Tragelement dienenden Leiter sind zur Zusatzlast zu addieren.
1 Der maximal zu erwartende Durchhang eines Leiters oder Kabels ist aufgrund folgender Annahmen zu berechnen:
2 Sind aufgrund der örtlichen Verhältnisse höhere Temperaturen oder grössere Zusatzlasten zu erwarten, so sind diese der Berechnung zugrunde zu legen.
3 Bei Luftkabeln gelten die Temperaturannahmen immer für das Tragelement. Das Kabelgewicht bzw. die nicht als Tragelement dienenden Leiter sind zur Zusatzlast zu addieren.
1 Die Verbindungen der Leiter müssen denselben elektrotechnischen Anforderungen genügen wie das Leitermaterial.
2 Die Verbindungen von selbsttragenden Leitern oder von Tragelementen von Luftkabeln müssen die Anforderungen nach Artikel 17 erfüllen.
3 Freileitungen dürfen nicht aus mehreren kurzen Leiterstücken zusammengesetzt werden.
1 Die Mindestbruchkraft von Stab‑, Stütz- und Stützenisolatoren aus keramischen Werkstoffen oder aus Glas muss mindestens 2,8 mal grösser sein als die grössten statischen Belastungen.
2 Verbundisolatoren aus Kunststoff müssen witterungsbeständig und gegen UV-Strahlung resistent sein.
Die Leiter- und Tragelementbefestigungen müssen den Tragwerkarten entsprechen und die auf sie wirkenden Belastungen sicher übertragen können.
Leiter, Luftkabel, Leiterverbindungen, Isolatoren und Armaturen müssen gegen äussere Einflüsse und elektrochemische Zersetzung beständig sein.
1 Tragwerke, Fundamente, Verstrebungen, Verankerungen und deren Bestandteile sind so zu dimensionieren und zu konstruieren, dass sie den grössten Belastungen standhalten.
2 Als grösste Belastung gilt die ungünstigste Kombination aller Kräfte, die auf ein Tragwerk oder einen Bestandteil davon einwirken können. Zu berücksichtigen sind:
3 Als Werkstoffe sind für Tragwerke Stahl, Stahlbeton oder Holz zu verwenden. Tragwerke aus solchen Werkstoffen sind nach Anhang 4 zu dimensionieren.
4 Andere Werkstoffe oder unübliche Konstruktionen dürfen nur verwendet werden, wenn ihre Eignung, insbesondere hinsichtlich Festigkeit und Dauerhaftigkeit, nachgewiesen wird. Die Kontrollstelle kann Prüfatteste von anerkannten Prüfstellen oder besondere Prüfungen verlangen.
1 Holzmaste müssen mindestens mit einem Zehntel ihrer Länge plus 40 cm ins Erdreich eingelassen werden.
2 Sie sind fest zu verrammen. Wenn es Belastung und Bodenbeschaffenheit erfordern, ist die Druckfläche zu vergrössern.
3 Holzmaste, die in den Boden einbetoniert werden, sind spätestens nach drei Jahren wieder zu entfernen.
4 Als besondere Fundamente dürfen nur Stangenfüsse aus Material verwendet werden, das gegen die Einwirkungen des Erdbodens widerstandsfähig ist. Die Holzmasten müssen auswechselbar und vor Erdfeuchtigkeit und Wasseransammlung geschützt befestigt werden. Die Festigkeit der Stangenfüsse muss wenigstens gleich gross sein wie die der Tragwerke.
5 Fundamente für Tragwerke, die nicht aus Holz sind, sind für die grössten zu erwartenden Belastungen unter Berücksichtigung der Fundamenteinspannung zu berechnen. Die Sicherheit gegen Umsturz muss mindestens 1,5 sein.
1 Stahldrahtseile von Verankerungen müssen einen Mindestquerschnitt von 20 mm2 aufweisen. Im Erdboden ist für Rundstahl ein Mindestdurchmesser von 10 mm, bei Stahldrahtseilen ein Mindestquerschnitt von 70 mm2 erforderlich.
2 Verankerungen müssen jederzeit nachgespannt werden können.
3 Verankerungen aus elektrisch leitendem Material sind so an den Tragwerken zu befestigen, dass Berührungen mit unter Spannung stehenden Anlageteilen ausgeschlossen sind.
1 Tragwerke, Fundamente, Verstrebungen und Verankerungen müssen gegen äussere Einflüsse so geschützt werden, dass Standfestigkeit und Tragfähigkeit dauernd gewährleistet sind.
2 Tragwerke und Tragwerkteile aus Holz müssen imprägniert oder auf gleichwertige Weise geschützt sein.
3 Schnittstellen bei Holztragwerken sind so abzudecken oder so anzuordnen, dass sich kein Wasser ansammeln kann.
1 Tragwerke müssen die Initialen des Leitungsinhabers tragen sowie mit einer Ordnungsnummer und mit der Jahreszahl der Aufstellung versehen sein (Hinweistafel).
2 Holzmasten sind 4,5 m über dem Fussende mit der Jahreszahl der Imprägnierung und dem Kennzeichen des Lieferanten dauerhaft zu markieren.
Für Hochspannungsleitungen und deren Konstruktionselemente gelten die Störschutzwerte nach Anhang 5.
1 Sofern es die örtlichen Gegebenheiten erfordern, sind auf den Tragwerken Vorkehren zu treffen, damit Vögel möglichst keine Erd- und Kurzschlüsse einleiten können.
2 In vogelreichen Gebieten sind neue Leitungen so zu planen und zu erstellen, dass das Kollisionsrisiko für Vögel möglichst gering ist.
Die Betriebsinhaber von Freileitungen der lokalen oder regionalen Stromversorgung müssen die Bevölkerung in ortsüblicher Art über das Verhalten orientieren:
Die Tragwerke sind so zu gestalten oder auszurüsten, dass unbefugtes Besteigen nur mit Hilfsmitteln oder mit ausserordentlicher Anstrengung möglich ist.
1 Der Abstand zwischen spannungsführenden Leitern unter sich und zu Tragwerken ist so zu bemessen, dass in den voraussehbaren Fällen keine Spannungsüberschläge, Spannungsübertritte, Erdschlüsse oder Kurzschlüsse auftreten können.
2 Die Abstände bestimmen sich aus den jeweils grössten vorhandenen Nennspannungen und den dazugehörenden Prüfspannungen nach Anhang 6. Wo nichts Besonderes bestimmt wird, gelten diese Abstände sowohl für Leiter, Erdleiter und Luftkabel als auch für Schutzseile.
3 Hochspannungs-Luftkabel ohne geerdete metallene Umhüllung gelten als blanke, unter Spannung stehende Leiter.
1 Leiter, Luftkabel und Erdleiter müssen sowohl beim grössten Durchhang wie auch bei Windauslenkung mindestens die Bodenabstände nach Anhang 3 aufweisen.
2 In nicht begehbarem Gebiet, namentlich gegenüber Geländevorsprüngen, muss der minimale Direktabstand bei Windauslenkung 0,01 m pro kV Nennspannung, mindestens jedoch 1,50 m betragen.
3 Bei im Winter benutzbaren Transportwegen, bei markierten Skipisten und bei viel begangenen Wanderwegen sind auch die mittleren Schneehöhen zu berücksichtigen.
4 Die Kontrollstelle kann in begründeten Ausnahmefällen kleinere Abstände bewilligen. Sie bestimmt dabei die zu treffenden Schutzmassnahmen.
1 Die Direktabstände zwischen elektrischen Leitern und Bäumen richten sich nach Bewirtschaftung der Bäume, Bodenbeschaffenheit, Geländeneigung, Schneeabfall von den Bäumen usw.
2 Der Abstand zu Obst- und Zierbäumen unter oder neben Leitungen ist so zu bemessen, dass die Bäume gefahrlos bewirtschaftet werden können.
3 Für Baum- und Pflanzenspritzanlagen sind die Spritzabstände zu den Leitern der Freileitungen und allfällige Schutzvorkehren von Fall zu Fall festzulegen.
4 Die Vertikalabstände zwischen Bäumen und blanken Leitern von Hochspannungsfreileitungen müssen bei grösstem Durchhang mindestens betragen:
Freileitungen müssen so weit von Gebäuden entfernt erstellt oder so ausgeführt werden, dass sie weder Menschen oder Gebäude gefährden noch bei einem Gebäudebrand Rettungs- und Löschmassnahmen behindern.
1 Für Niederspannungsfreileitungen und -luftkabel gelten die Gebäudeabstände nach Anhang 7.
2 Fassadenabspannungen sind so anzubringen, dass:
1 Für Hochspannungsfreileitungen gelten die Gebäudeabstände nach Anhang 8.
2 Der Horizontalabstand von Hochspannungsleitern und ihren Tragwerken zu Gebäuden muss mindestens 5 m betragen und der Direktabstand zwischen Leitern und den nächstliegenden Gebäudeteilen bei Windauslenkung mindestens 2,50 m plus 0,01 m pro kV Nennspannung.
3 Überragt das Gebäude den untersten Leiter, so erhöht sich der Horizontalabstand von 5 m um die Überragung des den Leitern nächstliegenden Gebäudeteils. Bei einer Dachneigung von über 45 wird die Überragung nach Anhang 8 Figur 2 berechnet. Ein Horizontalabstand von insgesamt 20 m genügt in jedem Fall.
4 Überragt die Hochspannungsfreileitung das Gebäude, darf der Horizontalabstand ausnahmsweise unterschritten werden. Die Kontrollstelle entscheidet über:
5 Im Leitungsbereich dürfen sich keine Gebäude, Festhütten, Zelte oder ähnliche Einrichtungen mit grossen Menschenansammlungen, grossem Brandrisiko oder explosiblen Stoffen befinden. Die Kontrollstelle kann Ausnahmen bewilligen und Schutzmassnahmen vorschreiben.
6 Hochspannungsfreileitungen dürfen nur an Gebäuden angebracht oder abgespannt werden, die ausschliesslich dem Betrieb elektrischer Anlagen dienen.
1 Im Leitungsbereich von Hochspannungsfreileitungen dürfen sich keine Areale befinden, auf denen zeitweise grosse Menschenmengen vorkommen (Versammlungs-, Markt‑, Schausteller‑, Pausen‑, Sport‑, Campingplätze, öffentliche Liegewiesen usw.).
2 Solche Areale dürfen ausnahmsweise überführt werden. Über Zulässigkeit der Überführung, Abstände und Schutzmassnahmen entscheidet die Kontrollstelle.
3 Im Freileitungsbereich dürfen sich keine Wasserzonen (Bassin, See, Fluss usw.) von öffentlichen Schwimmbädern befinden. Für kleine Bassins kann die Kontrollstelle Ausnahmen bewilligen. Sie legt die zu treffenden Schutzmassnahmen fest.
4 Werden Fussballfelder überführt, so ist zu Leitern und Luftkabeln ein Bodenabstand von mindestens 15 m einzuhalten. Dabei ist von einem Durchhang bei 40 °C Leitertemperatur auszugehen. Für Spielfelder von untergeordneter Bedeutung kann die Kontrollstelle ausnahmsweise kleinere Abstände bewilligen.
5 Werden Spiel- und Sportanlagen überführt, so ist zwischen Leitern oder Luftkabeln und allfälligen Umzäunungen, Ballfangnetzen oder dergleichen ein Vertikalabstand von mindestens 2,50 m plus 0,01 m pro kV Nennspannung einzuhalten. Dabei ist von einem Durchhang bei 40 °C Leitertemperatur auszugehen.
6 Tribünen, Klubhäuser, Garderoben und dergleichen von Spiel- und Sportanlagen gelten als Gebäude.
1 Freileitungen sind über Gewässern so zu erstellen, dass die Schifffahrt nicht beeinträchtigt wird.
2 Leiter, Luftkabel und Erdleiter dürfen über folgenden Gewässerstrecken bei grösstem Durchhang den Abstand von 15 m plus 0,01 m pro kV Nennspannung über dem höchsten Schifffahrtswasserstand nicht unterschreiten:
3 Auf folgenden Strecken kann die Kontrollstelle kleinere Abstände zulassen, wenn dadurch die bestehende Schifffahrt nicht gefährdet wird:
4 Für alle übrigen Gewässerstrecken oder offene Gewässer mit bestehender oder möglicher Schifffahrt werden die Sicherheitsabstände und die zu treffenden Schutzmassnahmen von der Kontrollstelle im Einvernehmen mit den zuständigen Schifffahrtsbehörden festgelegt. Wenn nötig sind Schifffahrts- oder Warnzeichen anzubringen.
5 Der Abstand von Leitern zu nicht schiffbaren Gewässern muss bei höchstem Pegelstand und grösstem Durchhang mindestens 4 m plus 0,01 m pro kV Nennspannung betragen.
1 Beleuchtungskörper dürfen an Tragwerken von Hochspannungsfreileitungen nur dann angebracht werden, wenn:
2 Beleuchtungskörper müssen immer unterhalb der Hochspannungsleiter oder -luftkabel angebracht werden.
3 Zwischen dem untersten Hochspannungsleiter oder ‑luftkabel und den Beleuchtungskörpern muss bei Regelleitungen ein Vertikalabstand von 1,5 m plus 0,01 m pro kV Nennspannung und bei Weitspannleitungen ein Vertikalabstand von 2,5 m plus 0,01 m pro kV Nennspannung eingehalten werden.
4 Beleuchtungskörper und die dazugehörenden Installationen müssen auf den Tragwerken so angebracht und geerdet werden, dass sie bei einem Erdschluss im Hochspannungsnetz keinen unzulässigen Beeinflussungen ausgesetzt sind und keine gefährlichen Spannungen an andere Orte verschleppen.
1 Hochspannungsleiter und -luftkabel müssen zu Kandelabern und Beleuchtungskörpern mindestens die Abstände nach Anhang 9 aufweisen.
2 Kandelaber dürfen nur im Einverständnis mit dem Betriebsinhaber der Hochspannungsfreileitung aufgestellt oder umgelegt werden, wenn die Gefahr besteht, dass durch unbeabsichtigte oder beabsichtigte Bewegungen des Kandelabers der Direktabstand «a» nach Anhang 9 unterschritten wird.
3 Instandhaltungsarbeiten an Beleuchtungskörpern und Kandelabern dürfen durch vorbeiführende Hochspannungsfreileitungen weder behindert werden, noch darf dabei für das Personal eine Gefährdung auftreten. Windauslenkungen der Leiter oder der Kandelaber dürfen nicht zu Spannungsüberschlägen führen.
4 Überragen die Beleuchtungskörper einer Kandelaberreihe, die von einer Hochspannungsfreileitung gekreuzt wird, deren unterste Leiter oder befinden sie sich auf gleicher Höhe mit ihnen, so ist beidseits der Kreuzungsstelle sowohl bei den Beleuchtungskörpern als auch an den Kandelaberfüssen auf die tiefliegenden Leiter aufmerksam zu machen.
5 Bevor an Kandelabern, die sich in der Nähe von Hochspannungsfreileitungen mit Nennspannungen von mehr als 100 kV befinden, gearbeitet wird, sind die elektrischen Installationen und Armaturen der Kandelaber zu erden.
1 Für Verkehrsschilder und permanente Schutzwände gelten die gleichen Abstände wie für Kandelaber.
2 Instandhaltungsarbeiten an Verkehrsschildern, Schutzwänden oder dergleichen dürfen durch vorbeiführende Freileitungen weder behindert werden, noch darf dabei für das Personal eine Gefährdung auftreten.
1 Die Abstände zwischen Freileitungen und Schiessanlagen für das Schiesswesen ausser Dienst mit Ordonnanzmunition bestimmen sich nach Anhang 10. Die Abstände können unterschritten werden, wenn die Leitungen durch Blenden geschützt sind oder in schusstoten Räumen liegen.
2 Die Abstände zwischen Freileitungen und Schiessanlagen für Sport- und Jagdschiessen werden von der Kontrollstelle festgelegt. Diese bestimmt zudem die zu treffenden Schutzmassnahmen.
3 Die Kontrollstelle entscheidet darüber, ob Freileitungen über Scheibenstände oder Scheibenanlagen geführt werden dürfen. Sie bestimmt die Direktabstände sowie die zu treffenden Schutzmassnahmen.
1 Leiter müssen einen Durchmesser von mindestens 5 mm und einen Querschnitt von mindestens 19,6 mm2 sowie eine Mindestbruchkraft von 5,5 kN aufweisen. Für Leiter aus Reinaluminium sowie metallene Tragelemente von Luftkabeln muss der Querschnitt mindestens 50 mm2 betragen.
2 Für Leiter mit einem Querschnitt von mehr als 50 mm2 und für alle Reinaluminiumleiter sowie für metallene Tragelemente von Luftkabeln sind nur Seile zulässig.
3 Die höchstzulässige Zugbeanspruchung der Werkstoffe von Leitern oder Tragelementen bestimmt sich nach Anhang 11. Werden Werkstoffe verwendet, die in diesem Anhang nicht aufgeführt sind, so ist eine Zugbeanspruchung von höchstens 2/3 der Bruchgrenze zulässig. Die Kontrollstelle kann Prüfatteste von anerkannten Prüfstellen verlangen.
4 Bei Verbundseilen darf die zulässige Zugbeanspruchung der einzelnen Werkstoffe nicht überschritten werden. Wird ein Werkstoff als alleiniges Tragelement benützt, so müssen die übrigen Werkstoffe als zusätzliche Last berücksichtigt werden.
5 Bei Luftkabeln ohne separate Tragelemente sind mindestens zwei Leiter als Tragelemente zu benutzen. In Niederspannungskabeln darf aber der PEN-Leiter oder der Schutzleiter PE nicht als Tragelement benützt werden.
1 Die maximal zu erwartende Zugbeanspruchung eines Leiters ist aufgrund folgender Annahmen zu berechnen:
2 Sind aufgrund der örtlichen Verhältnisse tiefere Temperaturen oder grössere Zusatzlasten zu erwarten, so sind diese der Berechnung zugrunde zu legen.
3 Bei Luftkabeln gelten die Temperaturannahmen immer für das Tragelement. Das Kabelgewicht bzw. die nicht als Tragelement dienenden Leiter sind zur Zusatzlast zu addieren.
1 Der maximal zu erwartende Durchhang eines Leiters ist aufgrund folgender Annahmen zu berechnen:
2 Sind aufgrund der örtlichen Verhältnisse höhere Temperaturen oder grössere Zusatzlasten zu erwarten, so sind diese der Berechnung zugrunde zu legen.
3 Bei Luftkabeln gelten die Temperaturannahmen immer für das Tragelement. Das Kabelgewicht bzw. die nicht als Tragelement dienenden Leiter sind zur Zusatzlast zu addieren.
Zugbeanspruchung und Leiterdurchhang von Regelleitungen bestimmen sich nach Anhang 12.
1 Die Bruchkraft der zugfesten Verbindungen von Leitern oder Tragelementen von Luftkabeln muss mindestens 90 Prozent derjenigen des Leiters oder des Tragelementes betragen.
2 Wird der Querschnitt eines auf Zug beanspruchten Leiters durch eine Beschädigung um mehr als 25 Prozent vermindert, so hat die Reparaturstelle den Anforderungen für zugfeste Leiterverbindungen zu genügen.
3 Freileitungen dürfen nicht aus mehreren kurzen Leiterstücken zusammengesetzt werden.
1 Stab‑, Stütz- und Stützenisolatoren aus keramischen Werkstoffen oder aus Glas müssen, bezogen auf ihre Mindestbruchkraft folgende Sicherheitsfaktoren aufweisen:
2 Kappen-Bolzen-Isolatoren aus keramischen Werkstoffen oder aus Glas müssen folgende Sicherheitsfaktoren aufweisen:
3 Verbundisolatoren aus Kunststoff müssen witterungsbeständig und gegen UV-Strahlung resistent sein.
1 Werden Mehrfachaufhängungen oder Mehrfachabspannungen der Leiter als zusätzliche Schutzmassnahme verlangt, so müssen die Sicherheitsfaktoren nach Artikel 50 auch nach dem Versagen einer Teilaufhängung oder Teilabspannung noch gewährleistet sein.
2 Die Isolatorenketten sind in diesem Fall an mindestens zwei getrennten Punkten an den Tragwerken zu befestigen.
3 Beim Versagen einer Teilaufhängung müssen die verbleibenden Elemente einer Mehrfachaufhängung oder ‑abspannung den auftretenden dynamischen Belastungen standhalten.
4 Die einzelnen Isolatorenketten solcher Mehrfachaufhängungen dürfen aus höchstens drei Isolatoren bestehen, wenn die einzelnen Isolatoren kürzer sind als 0,5 m.
Armaturen müssen so bemessen sein, dass die Einhaltung der Sicherheitsfaktoren nach Anhang 13 bei der grössten statischen Belastung gewährleistet ist.
Leiter, Luftkabel, Leiterverbindungen, Isolatoren und Armaturen müssen gegen umweltbedingte äussere Einflüsse und gegen elektrochemische Zersetzung beständig sein.
1 Die Tragwerke, ihre Bestandteile und die Fundamente sind aufgrund der Belastungsannahmen in den Anhängen 14 und 15 zu berechnen.
2 Diese Annahmen gelten sinngemäss auch für spezielle Tragwerkausführungen und für Tragwerke von Freiluftanlagen.
1 Stützmasten sind zulässig für Abspannstrecken bis 2 km, mittlere Spannweiten bis 225 m und Leitungswinkel von 195 bis 205 gon. Sie dürfen nicht mit Abspannketten ausgerüstet werden.
2 Tragmasten sind zulässig für Abspannstrecken bis 4 km und Leitungswinkel von 180 bis 220 gon. Sie dürfen nicht mit Abspannketten ausgerüstet werden. Die Kontrollstelle kann Ausnahmen bewilligen.
3 Sondertragmasten sind erforderlich für Abspannstrecken über 4 km. Sie sind zulässig für Leitungswinkel von 180 bis 220 gon.
4 Abspannmasten sind erforderlich bei Leitungswinkeln unter 180 und über 220 gon sowie bei grossen Spannweitenunterschieden oder zur Begrenzung der Abspannstrecken.
5 Endmasten sind erforderlich beim Übergang von Frei- auf Kabelleitungen oder beim Eintritt einer Freileitung in eine Anlage, sofern nicht ein Anlageteil die Aufgabe eines Endmastes übernimmt.
1 Tragwerke, Fundamente, Verstrebungen, Verankerungen und deren Bestandteile sind so zu dimensionieren und zu konstruieren, dass sie den grössten Belastungen standhalten.
2 Als Werkstoffe sind für Tragwerke Stahl, Stahlbeton oder Holz zu verwenden. Tragwerke aus solchen Werkstoffen sind nach Anhang 13 zu dimensionieren.
3 Andere Werkstoffe oder unübliche Konstruktionen dürfen nur verwendet werden, wenn ihre Eignung, insbesondere hinsichtlich Festigkeit und Dauerhaftigkeit, nachgewiesen wird. Die Kontrollstelle kann Prüfatteste von anerkannten Prüfstellen oder besondere Prüfungen verlangen.
4 Der Nachweis genügender Tragfähigkeit kann rechnerisch oder, im Einvernehmen mit der Kontrollstelle, durch Belastungsprüfungen am fertigen Tragwerk erbracht werden.
1 Holzmasten müssen mindestens mit einem Zehntel ihrer Länge plus 40 cm ins Erdreich eingelassen werden.
2 Holzmasten, die in den Boden einbetoniert werden, sind spätestens nach drei Jahren wieder zu entfernen.
3 Stützmasten sind nach Anhang 16 zu dimensionieren.
1 Stahldrahtseile für Verankerungen müssen einen Mindestquerschnitt von 50 mm2 aufweisen. Im Erdboden ist für Rundstahl ein Mindestdurchmesser von 10 mm, bei Stahldrahtseilen ein Mindestquerschnitt von 70 mm2 erforderlich.
2 Verankerungen müssen jederzeit nachgespannt werden können.
3 In elektrisch leitende Verankerungen von isolierenden Tragwerken muss mindestens 1 m unterhalb des tiefsten spannungsführenden Teiles ein Isolierstück eingebaut werden, das der höchsten Nennspannung der Leitung entspricht. Diese Verankerungen dürfen nach dem Befestigungspunkt keine Tragwerkteile mehr berühren.
4 Dachständer sind gegen Korrosion zu schützen und so zu bemessen, dass die Sicherheitsfaktoren nach Anhang 13 bei der grössten statischen Belastung gewährleistet sind.
1 Tragwerke, Fundamente, Verstrebungen und Verankerungen müssen gegen äussere Einflüsse so geschützt werden, dass Standfestigkeit und Tragfähigkeit dauernd gewährleistet sind.
2 Tragwerke und Tragwerkteile aus Holz müssen imprägniert oder auf gleichwertige Weise geschützt sein.
3 Schnittstellen bei Holztragwerken sind so abzudecken oder so anzuordnen, dass sich kein Wasser ansammeln kann.
1 Tragwerke müssen die Initialen des Leitungsinhabers tragen sowie mit einer Ordnungsnummer und mit der Jahreszahl der Aufstellung versehen sein (Hinweistafel).
2 Holzmasten sind 4,5 m über dem Fussende mit der Jahreszahl der Imprägnierung und dem Kennzeichen des Lieferanten dauerhaft zu markieren.
3 An den Tragwerken von Hochspannungsfreileitungen sowie an Dachständern und bei Fassadenabspannungen von Leitungen mit blanken Leitern sind Warnzeichen anzubringen.
1 Tragwerkfundamente müssen so erstellt werden, dass bei den grössten Belastungen die Standsicherheit des Tragwerkes gewährleistet ist und keine unzulässige Schiefstellung auftritt.
2 Die Sicherheit gegen Umsturz muss mindestens 1,5 sein.
3 Bei der Berechnung der Fundamente sind neben den Bodenbedingungen auch Randbedingungen wie Grundwasser, häufige Hochwasser, Böschungen und ähnliche Einflüsse zu berücksichtigen.
4 Die Boden- und die Randbedingungen müssen an Ort und Stelle überprüft werden.
5 Für Sondertragmasten sowie für Tragwerke aus Holz bei Weitspannleitungen, die länger als drei Jahre bestehen bleiben, sind besondere Fundamente oder Sockel zu erstellen.
1 Die Betriebsinhaber müssen Lage und Verlegungsart ihrer Kabelleitungen festhalten. Die Leitungen müssen jederzeit geortet werden können.
2 Die entsprechenden Unterlagen sind bis zur Entfernung der Leitung aufzubewahren. Dies gilt auch für Leitungen, die nicht mehr benützt werden.
3 Die Betriebsinhaber geben auf Anfrage berechtigten Personen Lage und Verlegungsart ihrer Kabelleitungen bekannt.
1 Alle Teile von Kabelleitungen, die inspiziert oder gewartet werden müssen, müssen für das Betriebspersonal jederzeit zugänglich sein. Die für Arbeiten erforderliche Bewegungsfreiheit und die Sicherheit für das Personal müssen gewährleistet sein.
2 Kabelzubehöre dürfen die Zugänglichkeit zu den Anlagen nicht beeinträchtigen.
1 Freigelegte Leitungsabschnitte sind durch den Betriebsinhaber zu identifizieren und soweit nötig zu schützen.
2 Die Gefährdung Dritter ist durch Schutzmassnahmen zu verhindern.
1 Kabelanlagen müssen während der Erstellung und dem Betrieb den mechanischen, chemischen, thermischen, elektrischen und umweltbedingten Beanspruchungen standhalten.
2 Alle Teile einer Kabelleitung müssen auf den Betrieb und unter sich abgestimmt sein.
3 Kabelträger müssen den mechanischen Beanspruchungen standhalten, die sich im normalen Betrieb und in voraussehbaren Störfällen ergeben.
Kabel müssen an den Enden sowie an zugänglichen Stellen eindeutig, dauerhaft und gut sichtbar gekennzeichnet sein.
1 Kabelleitungen sind so zu verlegen, dass sie im normalen Betrieb vor Beschädigungen geschützt sind.
2 Hochspannungskabel sind nach Möglichkeit von Niederspannungskabeln sowie Steuer- und Schwachstromkabeln getrennt zu verlegen.
3 Für Luftkabel gelten die Bestimmungen über die Freileitungen.
1 Kabelleitungen, die direkt im Erdreich verlegt werden, müssen eine mechanische Festigkeit aufweisen, die auf die Art der Bettung abgestimmt ist.
2 Ohne Kabelschutzrohre muss die Verlegetiefe im Erdreich betragen:
3 Können die Verlegetiefen nach Absatz 2 nicht eingehalten werden, sind zusätzliche Schutzmassnahmen, insbesondere gegen mechanische Beschädigungen zu treffen.
4 Der Kabelschutz von Starkstromkabeln muss in jedem Fall mindestens 0,4 m überdeckt werden. Die Kontrollstelle kann Ausnahmen bewilligen.
1 Kabelschutzrohre aus Kunststoff müssen die von der Kontrollstelle vorgeschriebenen Eigenschaften aufweisen.
2 Kabel, Kabelschutzrohre und Kabelrohrblöcke in oder bei Kunstbauten müssen so beschaffen sein, dass sie den zu erwartenden Wärmedehnungen, Erschütterungen usw. standhalten.
3 Metallene Kabelschutzrohre sind zu erden.
1 Kabelleitungen in Tunnels und Stollen müssen kontrolliert und instand gehalten werden können.
2 Tunnels und Stollen müssen ein ungefährliches Arbeiten erlauben. Sie müssen namentlich über eine entsprechende Luftqualität verfügen sowie explosions- und überflutungssicher sein.
3 Tunnels und Stollen müssen in zwei Richtungen verlassen werden können. Die Fluchtwege sind in Bodennähe gut sichtbar zu bezeichnen.
4 Dienen Tunnels und Stollen auch anderen Zwecken, so sind die entsprechenden Sicherheitsmassnahmen zu treffen.
5 Tunnels und Stollen sind in angemessene Brandabschnitte zu unterteilen.
1 Kabelleitungen sind in Gewässern so zu verlegen, dass sie weder durch Geschiebe oder Ablagerungen noch bei Uferauswaschungen beschädigt werden.
2 In schiffbaren Gewässern sind die Kabel zudem gegen mechanische Einwirkungen der Schifffahrt zu schützen.
3 An Uferzonen, seichten Stellen sowie in der Nähe von Schiffsanlegeplätzen sind Kabelleitungen für die Schifffahrt deutlich und dauerhaft zu markieren.
1 Die leitende Umhüllung einer Kabelleitung ist an beiden Enden zu erden. Kann aus betrieblichen Gründen ein Ende nicht geerdet werden, so ist dieses gegen direkte Berührung zu schützen und mit Warn- oder Hinweistafeln zu versehen.
2 Elektrisch leitende Teile wie Kabelarmierungen, Armaturen, Zubehöre sind zu erden.
3 Die den auftretenden Mantelspannungen entsprechenden Sicherheitsabstände sind bei Kabeln mit einseitig geerdeten oder ausgekreuzt geerdeten Metallmänteln einzuhalten.
4 Die Erdung von Schwachstromkabelleitungen richtet sich nach den Bestimmungen der Schwachstromverordnung vom 30. März 199425.
5 Die Erdung von Starkstromkabelleitungen richtet sich nach den Bestimmungen der Starkstromverordnung vom 30. März 199426.
1 Für die Übertragung elektrischer Energie sind Netzkabel zu verwenden. Ausnahmen sind zulässig, wenn die Leitung ausschliesslich über Grundstücke führt, über die der Leitungsinhaber das alleinige Verfügungsrecht hat.
2 Oberirdische Niederspannungskabel in Starkstromanlagen müssen keine leitenden Umhüllungen haben.
3 Der Einbau von Niederspannungs‑, Signal‑, Mess- und Steuerleitern in Hochspannungskabel ist zulässig, wenn sie eine ausreichende Isolation aufweisen und keine wichtigen Schutz- oder Sicherheitsfunktionen ausüben.
1 Die Abstände zwischen Netzkabelleitungen und anderen – elektrischen oder nichtelektrischen – Leitungen sind so zu bemessen, dass keine unzulässigen gegenseitigen Beeinflussungen möglich sind und dass Arbeiten an der einen Leitung ohne grosse Beeinträchtigung der anderen ausgeführt werden können.
2 Hochspannungskabel ohne geerdete leitende Umhüllung sind als unter Spannung stehend zu behandeln und so zu verlegen, dass sie auch bei Unachtsamkeit nicht berührt werden können.
Als leitende Umhüllung von Niederspannungsnetzkabeln ist auch ein konzentrisch angeordneter äusserer Leiter zulässig. Bei der Nullung darf nur der PEN-Leiter und bei der Schutzerdung nur der Schutzleiter PE als äusserer Leiter verwendet werden.
Enthalten Netzkabel wassergefährdende Flüssigkeiten, so ist dem Gewässerschutz besondere Beachtung zu schenken.
Die Trassees der Hochspannungskabelleitungen müssen markiert werden (z. B. durch Warnbänder). In dicht besiedelten Gebieten kann darauf verzichtet werden.
1 Annäherungen, Parallelführungen und Kreuzungen von Freileitungen unter sich auf gemeinsamen Tragwerken sind nur zulässig, wenn:27
2 ...28
3 Freileitungen sind so zu planen und zu erstellen, dass wenig Kreuzungen mit anderen Freileitungen entstehen.
4 Lassen sich Kreuzungen nicht vermeiden, so sind sie möglichst nahe bei den Überführungstragwerken anzulegen.
27 Fassung gemäss Anhang Ziff. 5 der V vom 8. Dez. 1997, in Kraft seit 1. Jan. 1998 (AS 1998 54).
28 Aufgehoben durch Anhang Ziff. 5 der V vom 8. Dez. 1997, mit Wirkung seit 1. Jan. 1998 (AS 1998 54).
1 Bei Annäherungen, Parallelführungen und Kreuzungen von Freileitungen unter sich sind die Leiter mit höherer Spannung über den Leitern mit tieferer Spannung anzuordnen.
2 Werden bei Parallelführungen oder Kreuzungen ausnahmsweise Leiter mit tieferer Spannung über Leiter mit höherer Spannung geführt, so müssen die Leiter mit tieferer Spannung den Bestimmungen über die mechanische Sicherheit der Leiter mit höherer Spannung entsprechen. Bei solchen Kreuzungen müssen die übergeführten Leiter durch starre Befestigungen gehalten werden.
Erdleiter oder Kabel, die an Tragwerken herabgeführt werden, sind ab Erdboden bis in eine genügende Höhe gegen mechanische Beschädigung zu schützen.
1 Annäherungen, Parallelführungen und Kreuzungen von elektrischen Leitungen unter sich sind so anzulegen, dass zwischen Leitern verschiedener Leitungen keine Spannungsübertritte auftreten können.
2 Die Abstände, die bei Annäherungen, Parallelführungen und Kreuzungen von elektrischen Leitungen unter sich eingehalten werden müssen, bestimmen sich nach Anhang 17. Annäherungen, Parallelführungen und Kreuzungen von isolierten Schwachstromleitungen unter sich sind ohne Einhaltung von Sicherheitsabständen zulässig.
3 Der Sicherheitsabstand bei Kreuzungen ist aufgrund folgender Annahmen zu berechnen:
4 Die Betriebsinhaber sind verpflichtet, sich gegenseitig die für die Berechnung der Abstände erforderlichen Angaben zu liefern.
Unterkreuzende Leitungen dürfen das Besteigen der Tragwerke nicht behindern oder gefährden.
1 Ankerseile von gemeinsamen Tragwerken müssen mit Isolierkörpern so unterteilt werden, dass durch lose oder defekte Ankerseile keine leitenden Verbindungen zwischen Schwachstrom- und Niederspannungsleitern entstehen.
2 Erdleiter oder Niederspannungskabel, die an Tragwerken herabgeführt werden, sind ab Erdboden bis 0,50 m über die Schwachstromleitung hinaus gegen mechanische Beschädigung zu schützen.
Abspannstellen von Niederspannungsleitungen an Mauerwerken oder Gebäuden müssen oberhalb derjenigen von Schwachstromleitungen angebracht werden.
1 ...29
2 Auf der ganzen Länge der Parallelführung müssen die blanken Hochspannungsleiter durch starre Befestigungen gehalten werden. Die Schwachstromleiter müssen den Bestimmungen über die mechanische Sicherheit der Hochspannungsleiter entsprechen.
3 Parallelführungen von Schwachstromleitungen und Hochspannungs-Luftkabeln sind auf gemeinsamen Tragwerken zulässig.
4 Die Schwachstromleitungen müssen für den 1,3 fachen Wert der höchstmöglichen Erdungsspannung isoliert werden.
29 Aufgehoben durch Anhang Ziff. 5 der V vom 8. Dez. 1997, mit Wirkung seit 1. Jan. 1998 (AS 1998 54).
1 ...30
2 Kreuzungen von Schwachstromleitungen mit Hochspannungs-Luftkabeln sind auf gemeinsamen Tragwerken zulässig.
3 Die Schwachstromleitungen müssen für den 1,3 fachen Wert der höchstmöglichen Erdungsspannung isoliert werden.
30 Aufgehoben durch Anhang Ziff. 5 der V vom 8. Dez. 1997, mit Wirkung seit 1. Jan. 1998 (AS 1998 54).
Kreuzt sich eine Schwachstromleitung mit einer Starkstromleitung so, dass ein allfälliges Aufschnellen eines Schwachstromleiters eine gefährliche Annäherung an die Starkstromleitung verursacht, sind entsprechende Schutzmassnahmen zu treffen.
Werden mehr als zwei Starkstromfreileitungen auf getrennten Tragwerken parallel geführt, so müssen die Betriebsinhaber der Leitungen die besonderen Sicherheitsvorkehren bei Instandhaltungsarbeiten auf diesen Leitungsabschnitten schriftlich vereinbaren.
Bei Parallelführung von Starkstromfreileitungen auf getrennten Tragwerken dürfen die Direktabstände statt nach Anhang 17 nach Anhang 6 berechnet werden, wenn:
Muss für die Kreuzung von Starkstromfreileitungen ausnahmsweise ein bestehendes Tragwerk benutzt werden, so hat die mechanische Festigkeit von Tragwerk und Fundament den neuen Belastungen zu entsprechen.
1 Bei Kreuzungen von Starkstromfreileitungen sind Weitspannleitungen über die Regelleitungen zu führen.
2 Eine Regelleitung darf nur in begründeten Ausnahmefällen über eine Weitspannleitung geführt werden. Die Regelleitung muss dabei den Bestimmungen über die mechanische Sicherheit von Weitspannleitungen entsprechen.
1 Parallelführungen und Kreuzungen von Kabelleitungen unter sich sind so anzuordnen, dass sich die Leitungen gegenseitig weder in unzulässiger Weise beeinflussen noch beschädigen.
2 Die metallenen Umhüllungen parallel geführter oder sich kreuzender Kabelleitungen dürfen sich nur berühren, wenn die Leitungen am gleichen Erdungssystem angeschlossen sind.
3 Im Erdreich sind die Kabelleitungen mit den kleineren Spannungen über jene mit den grösseren Spannungen zu führen. Ausnahmen sind nur zulässig, wenn die beteiligten Betriebsinhaber ihr Einverständnis dazu gegeben haben.
4 Parallel geführte Einleiterkabel eines Drehstromstranges gelten als eine einzige Kabelleitung. Kabelschutzrohre aus ferromagnetischem Material sind nur dann zulässig, wenn alle Einleiterkabel im gleichen Rohr verlegt werden.
5 Hinter dem gleichen Überstromschutzorgan sind parallel geschaltete Kabel nur dann zulässig, wenn sie so verlegt sind, dass sie annähernd gleiche Impedanzen aufweisen.
1 Werden Energiekabelleitungen parallel geführt oder gekreuzt, so sind Massnahmen gegen Schäden infolge von Wärmestauungen zu treffen.
2 Werden Kabelleitungen in Gebäuden und Kanälen parallel geführt oder gekreuzt, so sind Massnahmen gegen Brandverschleppungen über die Kabelleitungen oder ‑kanäle zu treffen.
Kabelleitungen für Anlagen mit wichtigen Schutz- oder Sicherheitsfunktionen dürfen nicht mit Energiekabelleitungen im gleichen Kanal oder Schacht parallel geführt oder gekreuzt werden. Ausnahmen sind zulässig, wenn Anordnung oder Schutzvorkehren eine gegenseitige Gefährdung verhindern.
Hochspannungskabelleitungen mit grossen Erdschluss- bzw. Kurzschlussleistungen dürfen nicht mit anderen Kabelleitungen parallel geführt oder gekreuzt werden, Ausnahmen sind zulässig, wenn Anordnung oder Schutzmassnahmen eine Gefährdung von Personen oder Sachen verhindern.
1 Werden Starkstrom- mit Schwachstromkabelleitungen parallel geführt oder gekreuzt, so sind folgende Mindestabstände einzuhalten:
2 Können die Mindestabstände nach Absatz 1 nicht eingehalten werden, so sind zwischen den Kabelleitungen feuerhemmende und elektrisch nicht leitende Abdeckungen anzubringen.
3 Sind die Kabelleitungen dem gleichen Betriebsinhaber unterstellt oder haben die beteiligten Betriebsinhaber Erstellung, Betrieb und Instandhaltung schriftlich vereinbart, so sind Parallelführungen und Kreuzungen ohne Mindestabstände oder Abdeckungen zulässig bei:
4 Niederspannungs- und Schwachstromleiter dürfen bei entsprechender Isolierung in einem gemeinsamen Kabel zusammengefasst werden, wenn die Leitungen dem gleichen Betriebsinhaber unterstehen.
5 Bei Parallelführungen und Kreuzungen von Starkstromkabelleitungen unter sich oder mit anderen Leitungen in Betonrohrblöcken ist zwischen den einzelnen Kabelrohren eine Betonschicht von mindestens 4 cm anzubringen.
1 Annäherungen, Parallelführungen und Kreuzungen von elektrischen Leitungen mit anderen Anlagen sind zu vermeiden oder auf möglichst wenige Stellen zu beschränken.
2 Annäherungen, Parallelführungen oder Kreuzungen von elektrischen Leitungen mit anderen Anlagen sind so anzuordnen, dass sich Leitungen und Anlagen gegenseitig weder in unzulässiger Weise beeinträchtigen noch beschädigen.
3 Elektrische Leitungen im Bereich von anderen Anlagen müssen so angeordnet werden, dass sich Betrieb und Instandhaltung der Leitungen und der anderen Anlagen gegenseitig nicht beeinträchtigen.
4 Die Kontrollstelle entscheidet über zusätzliche Schutzmassnahmen.
1 Leitungstragwerke sind so aufzustellen, dass sie auch bei Schiefstellung nicht in das Lichtraumprofil der Bahn hineinragen.
2 Überführungstragwerke und Tragwerke, die bei Schiefstellung oder beim Umstürzen in das Lichtraumprofil der Bahn hineinragen können, sind:
1 Der Mindestabstand zwischen elektrischen Leitungen und Tragwerken oder Leitern der Fahrleitungsanlage (inkl. Spurhalter) und Schutzseilen muss betragen:
2 Gemeinsame Tragwerke sind zulässig, wenn der Abstand der Ausleger und Joche der Fahrleitungsanlage oder des Mastschaftes der gemeinsamen Tragwerke zu den Leitern der parallel geführten Leitung mindestens 3 m plus 0,01 m pro kV der höchsten Nennspannung beträgt. Weisen die Leitungen getrennte Erdungssysteme auf, so sind sämtliche Isolatoren für die höchste Nennspannung zu bemessen.
3 Müssen Leiter, die nicht dem Bahnbetrieb dienen, über Fahrleitungsanlagen angelegt werden, so legt die Kontrollstelle die zu treffenden Schutzmassnahmen fest.
4 Kabelleitungen, ausgenommen Lichtwellenleiter ohne metallene Teile, die nicht dem Bahnbetrieb dienen, müssen ausserhalb der Gleisanlage und den zugehörigen Leitungstragwerken für die Bahnstromversorgung verlegt werden. Dabei muss der Abstand des Kabels zur äusseren Schiene mindestens 1,3 m betragen.
5 Die Kontrollstellen können für Kabelleitungen kleinere Abstände oder die Verlegung zwischen Gleiskörper und Tragwerkfundamenten bewilligen, wenn:
1 Schwachstrom- und Niederspannungsleitungen sind unter den Gleisen durchzuführen.
2 Soll ausnahmsweise eine Schwachstrom- oder eine Niederspannungsfreileitung über die Bahn geführt werden, so entscheidet die Kontrollstelle:
3 Beleuchtungskörper und ihre Zuleitungen an Tragelementen, die von der Fahrleitungsanlage unabhängig sind, müssen im Überführungsbereich der Fahrleitung:
1 Kreuzen elektrische Leitungen Bahnen mit Fahrleitungen, so sind die Abstände so gross zu halten, dass ein gefahrloses Arbeiten an den Fahrleitungsanlagen möglich ist.
2 Der Abstand zwischen übergeführten blanken Leitern und der Fahrleitungsanlage muss beim grössten Leiterdurchhang mindestens 3 m plus 0,01 m pro kV der höchsten Nennspannung plus 0,02 m pro Meter Abstand zwischen der Kreuzungsstelle und dem näher liegenden Überführungstragwerk betragen (Anhang 18).
3 Bei Normalspurbahnen mit Wechselstrombetrieb ist in jedem Fall für die übergeführten Leiter eine Höhe von mindestens 14 m über der Schienenoberkante einzuhalten.
4 Der Abstand zwischen übergeführten Leitern und Fahrleitungen von Fahrzeugen, deren Stromabnehmer sich leicht von der Fahrleitung lösen können, (z. B. Stangenstromabnehmer von Trolleybussen) bestimmt sich nach Anhang 6 Ziffer 2.1.2, muss aber mindestens 1,5 m betragen. Der Abstand wird zwischen übergeführten Leitern und der höchstmöglichen Stellung des Stromabnehmers gemessen. Kann er nicht eingehalten werden, sind Massnahmen, namentlich gegen das Anheben der Stromabnehmer, zu treffen.
5 Bei bodennahen Stromschienen muss der Abstand zwischen übergeführten Leitern und Schienenoberkante 7 m plus 0,01 m pro kV der Nennspannung betragen.
6 Übersteigt die für die Bahn massgebende Grenzlinie der festen Anlagen (gemäss Lichtraumprofil) die Höhe von 4 m, so ist der Mindestabstand nach Absatz 5 um diese Differenz zu vergrössern.
Kreuzen elektrische Leitungen Bahnen ohne Fahrleitung, so muss der Abstand zwischen den übergeführten Leitern und der Schienenoberkante mindestens 7 m plus 0,01 m pro kV der Nennspannung betragen.
1 Die Unterführung von Kabelleitungen unter Bahnen darf die Festigkeit des Bahnkörpers nicht beeinträchtigen und kein Hindernis für Anlagen darstellen, die dem Bahnbetrieb dienen.
2 Die Abstände zwischen Kabelleitung und Schienenunterkante müssen betragen:
3 Der mechanische Kabelschutz darf die Eigenschaften des Oberbaus nicht beeinträchtigen.
4 Metallene Schutzverkleidungen und Kabelarmaturen im Nahbereich der Gleise müssen den Artikeln 42–46 der Eisenbahnverordnung vom 23. November 198331 entsprechen.32
31 SR 742.141.1
32 Fassung gemäss Beilage 2 Ziff. II 4 der V vom 16. Nov. 2011, in Kraft seit 1. Juli 2012 (AS 2011 6233).
1 Wird eine Hochspannungsfreileitung unter einer Bahnbrücke hindurchgeführt, so müssen Leiter, Erdleiter und Luftkabel zu Konstruktionsteilen und Betriebseinrichtungen der Brücke folgende Mindestabstände aufweisen:
2 Dient die Brücke auch dem allgemeinen Fussgängerverkehr oder beträgt der Horizontalabstand zwischen der Brücke und einem Unterführungstragwerk weniger als 25 m, so ist an der Brücke ein 1,8 m hohes Schutzgitter mit Warnzeichen anzubringen, die auf die Gefahren beim Berühren von spannungsführenden Teilen hinweisen. Dieses Gitter muss beidseitig mindestens 2 m über die Leitungsbreite hinausreichen.
3 Instandhaltungsarbeiten, Schneeräumungen und Reparaturen an und auf der Brücke dürfen durch die Hochspannungsleitung nicht beeinträchtigt werden. Sie sind schriftlich zu vereinbaren.
1 Wo Leitungstragwerke durch Schiefstellung oder Umsturz den Seilbahnbetrieb unmittelbar gefährden können, sind Stützmasten nicht zulässig.
2 Solche Tragwerke müssen den Anforderungen für Sondertragmasten (Anhang 14 Ziff. 4.3) entsprechen und mit besonderen Fundamenten nach Artikel 61 Absatz 5 ausgerüstet sein.
1 Die der Annäherungs- und Kreuzungsstelle zunächst liegenden Stützen und die Stationen der Luftseilbahn sowie allfällige Schutzkonstruktionen sind zu erden.
2 Schutzkonstruktionen über Hochspannungsfreileitungen dürfen nicht in metallener Verbindung mit Teilen der Luftseilbahn stehen.
3 Alle Erdungen, Fundamente und Stützen von Luftseilbahnen und darüber angebrachten Schutzkonstruktionen müssen sich ausserhalb der gefährlichen Einflussbereiche der Erdungen von Hochspannungstragwerken befinden.
4 Sind Verschleppung von Potentialdifferenzen über die Seilbahnanlage möglich, so ordnen die Kontrollstellen die Schutzmassnahmen an.
1 Die Kontrollstellen entscheiden über die Zulässigkeit von Annäherungen, Parallelführungen und Kreuzungen von elektrischen Freileitungen mit Skiliften, Materialseilbahnen, Kran- und Reistseilen oder ähnlichen Anlagen.
2 Sie bestimmen die zu treffenden Schutzmassnahmen. Zu berücksichtigen ist dabei namentlich das Aufschnellen der Transportseile beim Abfall von Lasten.
1 Der Direktabstand von Leitern und Tragwerken elektrischer Leitungen zu Stützen und Lichtraumprofilen von Luftseilbahnen (Seile und Fahrzeuge und daran angehängten Lasten) muss mindestens 1,5 m plus 0,01 m pro kV Nennspannung betragen.
2 Der Direktabstand darf nicht unterschritten werden bei der Annäherung:
3 Beim Absinken oder Hochschnellen von Leitern der Freileitung bzw. von Seilen oder Drähten der Luftseilbahn darf ein Direktabstand von 0,01 m pro kV Nennspannung, mindestens aber von 1,5 m, nicht unterschritten werden.
1 Ist eine Kreuzung mit Schwachstrom- oder Niederspannungsleitungen nicht zu vermeiden, so müssen die Leitungen unterirdisch verlegt werden.
2 Für Kabelendmasten und spannungsführende Teile der Freileitung gelten die Abstände nach Artikel 108.
1 Ist eine Kreuzung mit einer Hochspannungsfreileitung nicht zu vermeiden, so ist die Freileitung über die Luftseilbahn zu führen.
2 Kreuzungen von Hochspannungsfreileitungen mit Luftseilbahnen sind möglichst nahe bei den Überführungstragwerken und den Seilbahnstützen anzulegen.
3 Der Kreuzungswinkel muss mindestens 20 gon betragen.
1 Der Direktabstand von Leitern von Hochspannungsfreileitungen zu den Lichtraumprofilen von Luftseilbahnen muss mindestens 1,5 m plus 0,01 m pro kV Nennspannung plus je 0,01 m pro Meter Abstand der Kreuzungsstelle zur nächstliegenden Seilbahnstütze einerseits und zum nächstliegenden Tragwerk der Freileitung andererseits betragen.
2 Zwischen den Stützen der Luftseilbahn und den Leitern der Freileitung muss der Direktabstand mindestens 1,5 m plus 0,01 m pro kV Nennspannung plus 0,02 m pro Meter Abstand der Kreuzungsstelle zum nächstliegenden Tragwerk der Freileitung betragen. Über begehbaren Teilen solcher Stützen ist dieser Abstand um 1,5 m zu vergrössern.
3 Die Abstände sind aufgrund folgender Annahmen zu berechnen:
4 Beim Absinken oder Hochschnellen von Leitern der Freileitung bzw. von Seilen oder Drähten der Luftseilbahn darf ein Direktabstand von 0,01 m pro kV Nennspannung, mindestens aber von 1,5 m, nicht unterschritten werden.
1 Können die Abstände nach Artikel 111 nicht eingehalten werden, so entscheidet die Kontrollstelle:
2 Schreibt die Kontrollstelle eine Schutzkonstruktion über der Luftseilbahn vor, so muss die Konstruktion die äussersten Leiter der Freileitungen seitlich so überragen, dass sie absinkende Leiter oder hochschnellende Drähte und Seile aufhalten kann.
3 Zwischen der Schutzkonstruktion und den Leitern der Freileitung muss der Direktabstand bei grösstem Leiterdurchhang mindestens 1,5 m plus 0,01 m pro kV Nennspannung plus 0,02 m pro Meter Abstand der Kreuzungsstelle zum nächstliegenden Tragwerk der Freileitung betragen.
4 Kann die Schutzkonstruktion für Instandhaltungs- und Prüfarbeiten bei der Luftseilbahn bestiegen werden, so ist der Abstand nach Absatz 3 um 1,5 m zu vergrössern.
1 Muss eine Hochspannungsfreileitung ausnahmsweise unter einer Luftseilbahn hindurchgeführt werden, so ist eine Schutzkonstruktion zu erstellen, damit herabhängende oder ‑fallende Seile der Luftseilbahn sich den Leitern nicht unzulässig annähern können.
2 Auf die Erstellung der Schutzkonstruktion kann verzichtet werden, wenn:
3 Die Abstände der Schutzkonstruktion zu den Leitern bestimmen sich nach Anhang 6.
4 Die Abmessungen der Schutzkonstruktion richten sich nach den örtlichen Gegebenheiten, namentlich nach der seitlichen Windauslenkung der Luftseilbahn.
5 Können bei ausserordentlichen Betriebszuständen der Luftseilbahn (z. B. brüske Bremsung) deren Seile ausnahmsweise die Schutzkonstruktion berühren oder auf dieser aufliegen, so muss die Schutzkonstruktion entsprechend dimensioniert und so ausgeführt sein, dass die Seile nicht beschädigt werden.
6 Können Reisende in blockierten Seilbahnfahrzeugen nicht mit einer Bergungsbahn geborgen werden, so muss die Schutzkonstruktion so ausgeführt sein, dass das Abseilen der Reisenden möglich ist.
Elektrische Leitungen sind so zu planen und zu erstellen, dass sie einen geplanten Weiterausbau der Nationalstrassen nicht behindern.
1 Freileitungen sind so zu planen und zu erstellen, dass für den Verkehr auf den Nationalstrassen keine Sichtbehinderung entstehen (Signalisation, Wegweiser usw.).
2 Tragwerke sind speziell zu schützen, wenn die Gefahr ihrer Beschädigung durch Fahrzeuge besteht. Der Horizontalabstand von Fundamentsockeln und Schaftteilen zur äusseren Standspurgrenze muss mindestens 5 m betragen.
Leitungsteile von Freileitungen innerhalb der Baulinienabstände von Nationalstrassen müssen auch vom Bundesamt für Strassen bewilligt werden.
33 Fassung gemäss Anhang der V vom 19. Juni 2015, in Kraft seit 1. Jan. 2016 (AS 2015 2263).
Metallene Zäune, durchgehende Leitplanken oder Leitungsanlagen von Nationalstrassen sind im Einflussbereich von Tragwerkserdungen so zu verlegen, elektrisch aufzutrennen oder zu isolieren, dass weder gefährliche Berührungsspannungen noch Spannungsverschleppungen auftreten können.
1 Bei Annäherungen und Parallelführungen von Freileitungen mit Nationalstrassen sind ausreichende Horizontalabstände vorzusehen oder Schutzmassnahmen gegen unzulässige induzierte Längsspannungen an Anlagen der Nationalstrasse zu treffen.
2 Der Horizontalabstand zwischen der äusseren Standspurgrenze und dem nächsten Leiter oder Luftkabel muss mindestens 1 m betragen.
3 Beschränkt sich die Annäherung auf eine Spannweite, so gilt sie als Kreuzung.
1 Bei Kreuzungen mit Nationalstrassen müssen Schwachstrom- oder Niederspannungsfreileitungen unterführt werden.
2 Hochspannungsfreileitungen sind so anzulegen, dass wenig Kreuzungen mit Nationalstrassen und den dazugehörenden Rastplätzen entstehen.
3 Die Bodenabstände der Erdleiter, Leiter und Luftkabel bestimmen sich nach Anhang 3.
1 Wird eine Hochspannungsfreileitung unter einer Strassenbrücke hindurchgeführt, so müssen Leiter, Erdleiter und Luftkabel zu Konstruktionsteilen und Betriebseinrichtungen der Brücke folgende Mindestabstände aufweisen:
2 Dient die Brücke auch dem allgemeinen Fussgängerverkehr oder beträgt der Horizontalabstand zwischen der Brücke und einem Unterführungstragwerk weniger als 25 m, so ist an der Brücke ein 1,8 m hohes Schutzgitter mit Warnzeichen anzubringen, die auf die Gefahren beim Berühren von spannungsführenden Teilen hinweisen. Dieses Gitter muss beidseitig mindestens 2 m über die Leitungsbreite hinausreichen.
3 Instandhaltungsarbeiten, Schneeräumungen und Reparaturen an und auf der Brücke dürfen durch die Hochspannungsleitung nicht beeinträchtigt werden. Sie sind schriftlich zu vereinbaren.
1 Kabelleitungen dürfen bei Annäherungen, Parallelführungen und Kreuzungen mit Verkehrswegen (Strassen, Tunnels, Brücken usw.) nicht durch Schwingungen und Erschütterungen beeinträchtigt werden. Sie müssen bei gelenkigen Konstruktionselementen (Brücken) eine ausreichende Beweglichkeit aufweisen.
2 Kabelleitungen für Anlagen mit wichtigen Schutz- und Sicherheitsfunktionen sind so zu erstellen, dass sie bei Pannen oder Verkehrsunfällen weder mechanisch noch durch Öl, Benzin oder andere brennende oder ätzende Flüssigkeiten beschädigt werden.
1 Kabelleitungen in Kabelkanälen müssen so geplant und erstellt werden, dass bei Kabelbränden der Verkehr nicht gefährdet wird.
2 Kabelkanäle in Tunnels dürfen keine Werkstoffe enthalten, die grosse Verqualmungen verursachen.
3 Kabeldurchführungen in Tunnels, die zwischen dem Verkehrsraum und elektrischen Anlagen liegen und Brände verschleppen können, sind feuerhemmend abzudichten.
1 Sollen Freileitungen und Rohrleitungen, die dem Rohrleitungsgesetz vom 4. Oktober 196334 unterstellt sind, parallel geführt werden, so ist abzuklären:
2 Die Abklärung ist nur in Bezug auf die Fernmelde- und Fernsteuerungsanlagen vorzunehmen, wenn die Rohrleitung:
3 Die Abklärung erübrigt sich vollständig, wenn der Sternpunkt des Hochspannungsnetzes von der Erde isoliert betrieben wird oder mit Erdschlusslöschung versehen ist.
4 Der Gefahr der Gleichstrom- und der Wechselstromkorrosion ist Rechnung zu tragen.
34 SR 746.1
1 Die Abstände bei Annäherungen, Parallelführungen und Kreuzungen von elektrischen Leitungen mit Rohrleitungen, die dem Rohrleitungsgesetz unterstellt sind, bestimmen sich nach Anhang 19.
2 Die Kontrollstellen können kleinere Abstände bewilligen, wenn:
Bei Annäherungen und Parallelführungen von Hochspannungsfreileitungen mit oberirdischen und von der Erde isolierten Rohrleitungen sind Schutzmassnahmen zu treffen, wenn beim Berühren der Rohrleitung spürbare Ableitströme entstehen können.
Zwischen Erdungen oder geerdeten Teilen von elektrischen Leitungen oder Starkstromanlagen und Rohrleitungsanlagen dürfen keine metallenen Verbindungen bestehen, ausser beide Anlagen seien mit dem gleichen Erdungssystem verbunden.
1 Rohrleitungen, die sich mit Starkstromfreileitungen kreuzen, müssen im Erdreich verlegt und mindestens 1 m überdeckt sein.
2 Durch Tiefbauarbeiten dürfen weder die Standfestigkeit von Freileitungs-Tragwerken noch die Rohrleitungsanlagen beeinträchtigt werden.
Die Bestimmungen dieser Verordnung gelten sinngemäss, wenn Hochspannungsleitungen mit Rohrleitungsanlagen zusammentreffen, die zum Transport von brennbaren Gasen und Flüssigkeiten oder von Wärmemedien dienen und nicht dem Rohrleitungsgesetz unterstellt sind.
1 Annäherungen, Parallelführungen und Kreuzungen von Freileitungen mit Tankanlagen sind nicht zulässig.
2 Nicht als Tankanlagen gelten Heizöltanks in Häusern und ähnliche Kleinanlagen.
Der Horizontalabstand zwischen Freileitungen und Unterflur-Tankanlagen muss mindestens 10 m betragen.
1 Der Horizontalabstand zwischen Freileitungen und Überflur-Tankanlagen muss betragen:
2 Der Direktabstand von Leitern oder Luftkabeln zu Überflur-Tankanlagen muss bei Windauslenkung mindestens der Explosionszone der Tankanlage plus 0,01 m pro kV Nennspannung entsprechen.
3 Der Horizontalabstand von Freileitungen zu allgemein zugänglichen Treibstofftankstellen muss mindestens 5 m betragen.
4 Liegen die Leiter von Freileitungen wesentlich höher als die obersten Teile der Tankanlage, so kann die Kontrollstelle einen kleineren Horizontalabstand oder eine Überführung bewilligen, wenn eine Explosion oder ein Brand in der Tankanlage ausgeschlossen oder für die Freileitung ungefährlich ist. Die Kontrollstelle legt die zu treffenden Schutzmassnahmen fest.
1 Die Kontrollstelle kann grössere Abstände und besondere Schutzmassnahmen vorschreiben, um zu verhindern, dass elektrische Leitungen bei einem Brand in Tankanlagen Lösch- und Kühlaktionen behindern oder das Löschpersonal gefährden.
2 Besteht trotz Einhaltung des Horizontalabstandes die Gefahr, dass eine Explosion oder ein Brand in der Tankanlage die elektrische Starkstromanlage gefährdet oder teilweise zerstört, so sind mit den zuständigen Feuerwehrorganen Schutzmassnahmen zu vereinbaren.
3 Elektrische Leitungen, die bei Katastrophenfällen in Tankanlagen unentbehrlich sind, müssen besonders geschützt werden.
1 Für die Annäherung und Parallelführung von Kabelleitungen und Tankanlagen gelten die Abstände nach Anhang 19.
2 Beträgt der Direktabstand zwischen Tankanlagen und Kabelleitungen im Erdreich weniger als 10 m, so muss der Inhaber der Kabelleitung dafür sorgen, dass entweichende brennbare Gase und Flüssigkeiten nicht über Kabelkanäle und Kabelrohre in Gebäude eindringen.
1 Tankanlagen sind gegen gefährliche kapazitive Aufladungen durch benachbarte Hochspannungsfreileitungen zu schützen.
2 Zwischen Tankanlagen und geerdeten Teilen von elektrischen Leitungen, die nicht zu Tankanlagen gehören, dürfen keine metallenen Verbindungen bestehen.
3 Tankanlagen dürfen sich nicht im gefährlichen Einflussbereich der Erdungen von elektrischen Leitungen befinden. Die Kontrollstelle kann Ausnahmen bewilligen.
4 Bei Annäherungen im Erdboden muss der Direktabstand zwischen den mit der Tankanlage verbundenen Teilen und den Erdleitungen bzw. geerdeten Teilen fremder elektrischer Starkstromleitungen und -anlagen 0,5 m pro kA Erdschlussstrom, mindestens aber 10 m, betragen.
5 Der Direktabstand nach Absatz 4 darf unterschritten werden, wenn die geerdeten Teile elektrischer Kabelleitungen oder die Teile der Tankanlage zusätzlich gegen das umgebende Erdreich elektrisch isoliert sind. Ein Direktabstand von 0,5 m (Erdschicht) darf aber nie unterschritten werden.
1 Die Betriebsinhaber müssen die Leitungen dauernd in gutem Zustand halten und regelmässig kontrollieren.
2 Sie müssen insbesondere Annäherungen, Parallelführungen und Kreuzungen von Freileitungen mit anderen Anlagen oder mit öffentlichen Strassen, Plätzen und schiffbaren Gewässern regelmässig überprüfen.
3 Die Kontrollperioden dürfen bei Schwachstrom- und Niederspannungsfreileitungen fünf Jahre und bei Hochspannungsfreileitungen zwei Jahre nicht überschreiten.
1 Die Betriebsinhaber erstellen über jede Kontrolle einen Kontrollbericht. Darin beurteilen sie die Leitung und halten fest, wie und bis wann Mängel behoben werden.
2 Die Kontrollberichte sind mindestens zehn Jahre aufzubewahren und auf Verlangen der Kontrollstelle vorzuweisen.
Die Betriebsinhaber von Starkstromleitungen der lokalen oder regionalen Stromversorgung orientieren und instruieren die Feuerwehr regelmässig über ihre Leitungen und Anlagen.
1 Freileitungen, die für längere Zeit ausser Betrieb gesetzt sind, müssen geerdet und kurzgeschlossen werden.
2 Ausser Betrieb gesetzte Freileitungen sind wie in Betrieb stehende Leitungen zu kontrollieren und instand zu halten.
1 Kabelleitungen, an denen gearbeitet werden soll sind vorgängig eindeutig zu identifizieren sowie freizuschalten und zu erden.
2 Können unzulässige Berührungsspannungen auftreten, so müssen die freien Enden der leitenden Umhüllungen elektrisch leitend miteinander verbunden und an die Erdung der Arbeitsstelle angeschlossen werden.
3 Ist die Sicherheit anderweitig gewährleistet, so kann auf die Freischaltung oder Erdung von Niederspannungs- und Schwachstromkabeln verzichtet werden.
1 Können bei Arbeiten an einer Leitung Gefahren für andere Anlagen entstehen oder von anderen Anlagen ausgehen, so verständigen sich die Inhaber rechtzeitig über die zu treffenden Schutzmassnahmen.
2 Können sie sich nicht einigen, so entscheidet die Kontrollstelle über die Schutzmassnahmen.
3 Bei drohender Gefahr kann die Kontrollstelle die sofortige Einstellung der Arbeiten oder des Betriebes der ihrer Aufsicht unterstellten Anlage anordnen.
1 Können Personen bei Bergungsmassnahmen an einer Luftseilbahn durch eine Freileitung gefährdet werden, so haben sich die Betriebsinhaber beider Anlagen über das Vorgehen und über die sofortige Leitungsabschaltung schriftlich zu verständigen.
2 Die schriftliche Vereinbarung muss vorliegen, bevor die später erstellte Anlage in Betrieb gesetzt wird. Sie ist der Kontrollstelle auf Verlangen vorzulegen und muss dem Betriebspersonal beider Anlagen jederzeit zugänglich sein.
3 Die Betriebsinhaber müssen ihr Personal über das Vorgehen und die Massnahmen, die bei einer Bergung zu treffen sind, instruieren.
36 Aufgehoben durch Ziff. IV 25 der V vom 22. Aug. 2007 zur formellen Bereinigung des Bundesrechts, mit Wirkung seit 1. Jan. 2008 (AS 2007 4477).
Die Verordnung vom 7. Juli 193337 über die Parallelführungen und Kreuzungen elektrischer Leitungen unter sich und mit Eisenbahnen wird aufgehoben.
37 [BS 4 848]
...38
38 Die Änderung kann unter AS 1994 1233 konsultiert werden.
Planvorlagen für elektrische Leitungen, die bei Inkrafttreten dieser Verordnung bereits bei der Genehmigungsbehörde eingereicht sind, werden nach bestehendem Recht beurteilt. Werden die Pläne vollständig oder zu einem überwiegenden Teil überarbeitet, so sind sie nach neuem Recht zu beurteilen.
Diese Verordnung tritt am 1. Juni 1994 in Kraft.
39 Bereinigt gemäss Beilage 2 Ziff. II 4 der V vom 16. Nov. 2011, in Kraft seit 1. Juli 2012 (AS 2011 6233).
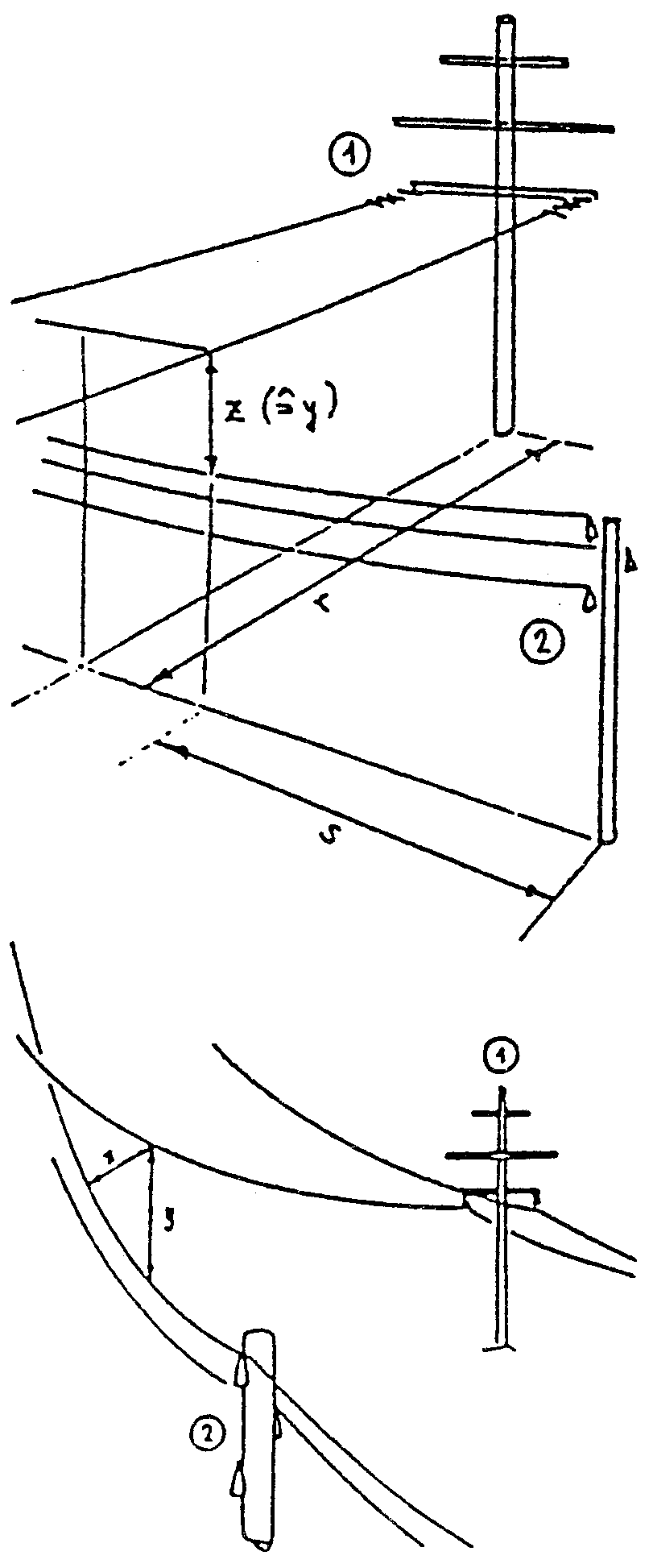
(Art. 4)
1 Abspannstrecke: Leitungsstrecke zwischen zwei Abspannmasten.
2 Bedingt gleitende Leiterbefestigung: verhindert einen Schlupf bei den theoretisch ermittelten Leiterzugresultierenden am Befestigungspunkt (z. B. Tragklemmen, Regelbund). Sie ermöglicht aber Schlupf des Leiters oder des Tragelementes der Luftkabel und eine damit verbundene einseitige Durchhangsvergrösserung bei nicht vorhersehbaren grösseren Leiterzügen.
3 Bündelleiter: zwei oder mehr parallele Leiter (Teilleiter), die elektrisch leitend miteinander verbunden und zur Reduktion der elektrischen Randfeldstärke, üblicherweise durch Feldabstandhalter, voneinander distanziert sind.
4 Draht: Leiter mit nur einem massiven Querschnitt.
5 Erdleiter: mit der Erde verbundener Leiter zur Ableitung von Blitzströmen und zur Rückführung von Erdschlussströmen.
6 Fahrleitungsanlage: Elektrische Anlage nach Anhang 4, Buchstabe c der Eisenbahnverordnung vom 23. November 198340.
7 Feldabstandhalter: Abstandhalter zwischen den Teilleitern eines Bündelleiters.
8 Freileitung: elektrische Leitung, die oberirdisch im Freien verlegt ist und deren Leiter zwischen den Stützpunkten frei hängen.
9 Gleis: Schienen, Befestigungsmittel, Schwellen und darunterliegender Schotter- oder Betonkörper. Der Betontrog einer Brücke gehört nicht zum Gleis.
10 Gleis ohne unabhängigen Bahnkörper: Gleis, dessen Bereich auch durch Strassenfahrzeuge befahrbar ist, wie z. B. bei Strassenbahnen mit Rillenschienen
11 Grösster Leiterzug einer Spannweite: der beim höheren Befestigungspunkt auftretende Leiterzug bei 0 C Leitertemperatur mit Zusatzlast oder bei der tiefsten Leitertemperatur
12 Grösster Leiterzug zwischen zwei Leiterabspannungen: der beim höheren Befestigungspunkt der grössten virtuellen Spannweite auftretende Leiterzug bei 0 C Leitertemperatur mit Zusatzlast oder bei der tiefsten Leitertemperatur
13 Kabel: ein oder mehrere isolierte Leiter, die von schützenden Umhüllungen umgeben sind
14 Kabelarmaturen: Bestandteile einer Kabelleitung für das Anschliessen und Verbinden von Kabeln wie Klemmen, Muffen, Endverschlüsse usw.
15 Kabelleitung: elektrische Leitung, die aus Kabeln oder Netzkabeln, Kabelarmaturen und Kabelzubehör besteht.
16 Kabelträger: Bauwerke oder Bau- und Befestigungselemente, welche die Kabel tragen und mechanisch halten.
17 Kabelzubehör: Bestandteile einer Kabelleitung wie Öl‑, Gas- oder Wasserbehälter, Überwachungs- und Schutzeinrichtungen.
18 Leiter: blanke oder isolierte Werkstoffe, die der Übertragung des elektrischen Stromes dienen.
19 Leiterabspannung: Verbindungselement zwischen der starren Befestigung eines Leiters oder Tragelementes eines Luftkabels und einem örtlich unverrückbaren Konstruktionsteil.
20 Leiterdurchhang: vertikaler Abstand zwischen der Verbindungsgeraden durch die Leiterbefestigungspunkte und der Seilkurve. Der grösste Leiterdurchhang ist der Abstand zwischen der Verbindungsgeraden und der parallelen Tangente an die Seilkurve
21 Leitungsbereich von Hochspannungsfreileitungen: Bereich unter und
neben Freileitungen, seitlich begrenzt durch Vertikalebenen mit je 5 m Horizontalabstand beidseits der äussersten Leiter; oberhalb des untersten Leiters vergrössert sich der 5-m-Horizontalabstand um das Mass der Überhöhung bis zu einem Maximum von 20 m.
22 Leitungswinkel : der bei einem Tragwerk im Grundriss messbare Winkel zwischen den ankommenden (im Sinne der Mastennumerierung) und abgehenden Leitungssträngen; bei gerader Linienführung ist = 200 gon; sind mehrere abgehende Leitungsstränge vorhanden, so sind alle Leitungswinkel auf ein und denselben Leitungsstrang zu beziehen.
23 Lichtwellenleiter: Dielektrischer Wellenleiter zur Übertragung von Signalen mit Hilfe von elektromagnetischen Wellen im Bereich optischer Frequenzen.
24 Luftkabel: selbsttragendes oder von Tragelementen gehaltenes Kabel, das zwischen Stützpunkten frei hängt.
25 Mindestbruchkraft von Isolatoren: grösste statische Kraft, die auf einen Isolator wirken kann, ohne dass er bricht, wenn er nach den geltenden Normen geprüft wird.
26 Netzkabel: Starkstromkabel, das von einer metallenen Hülle umgeben ist, welche die im normalen Betrieb und in voraussehbaren Störfällen auftretenden Ströme ableitet.
27 Phasenabstandhalter: Abstandhalter zwischen verschiedenen Leitern.
28 Regelleitung: Freileitung, deren Stützpunkte höchstens 60 m auseinander stehen.
29 Seil: Leiter aus verdrillten Drähten.
30 Spannweite a: horizontal gemessener Abstand zwischen zwei benachbarten Stützpunkten.
30.1 Spannweite, mittlere, am: arithmetisches Mittel der bei einem Tragwerk angrenzenden Spannweiten.
30.2 Spannweite, ideelle, aid: fiktive, rechnerisch zu ermittelnde Ersatzspannweite zwischen zwei Leiterabspannungen.

= Neigungswinkel
30.3 Spannweite, virtuelle, av: die bei ungleicher Höhe der Leiteraufhängung scheinbare Spannweite, gebildet durch die Länge der horizontalen Sehne zwischen dem oberen Aufhängepunkt und dem Schnittpunkt mit der über den unteren Aufhängepunkt verlängerten Seilkurve.

a = | Spannweite in m | |||
c = | Parameter der Seilkurve in m | |||
c = | FH/q | FH | = | Horizontalkraft in N |
q | = | Gewichtslast des Seiles pro Längeneinheit, einschliesslich allfälliger Zusatzlast in N/m |
h = Höhendifferenz der Aufhängepunkte in m
31 Stützisolator: Isolator, der ohne zusätzliche Stütze direkt auf ein Tragwerk oder Tragwerkteil montiert wird.
32 Stützenisolator: Isolator, der starr auf einer Stütze befestigt ist, die in sein Inneres hineinreicht
33 Stützpunkt: Bestandteil einer Freileitung, an dem Leiter oder Tragelemente der Luftkabel befestigt sind (Maste, Abspanngerüste, Mauern, Brücken usw.).
34 Unabhängiger Bahnkörper: Bahnkörper, welcher nur von Schienenfahrzeugen befahren werden kann.
35 Verbundseil: Leiter mit verdrillten Drähten aus verschiedenen Werkstoffen.
36 Weitspannleitung: Freileitung, deren Stützpunkte über 60 m auseinander stehen.
37 Windauslenkung der Leiter: Auslenkung der Leiter durch die Krafteinwirkung des Windes auf Leiter und Leiteraufhängungen bei einer Leitertemperatur von 10 °C.
38 Zusatzlast: Schnee und/oder Eisansatz auf den Leitern von Freileitungen oder auf Luftkabeln oder Leitern und Gerüsten von Freiluftanlagen.
40 SR 742.141.1
(Art. 9)
Die Kontrollstelle kann zur Gewährleistung der Sicherheit über die Vorschriften der Verordnung hinaus folgende Auflagen machen:
1. An den Überführungstragwerken sind an gut sichtbarer Stelle Hinweistafeln anzubringen, die angeben, wo im Notfall die sofortige Ausschaltung der Leitung veranlasst werden kann.
2. Hochspannungsfreileitungen dürfen in der Überführungsspannweite nicht zusammen mit Niederspannungsfreileitungen auf gemeinsamen Tragwerken überführt werden.
3. Unter der Starkstromfreileitung sind Vorkehren zu treffen, damit sich keine Menschenansammlungen bilden können.
4. Die Gebäudeüberführung oder ‑annäherung ist der zuständigen Betriebs- oder Ortsfeuerwehr zu melden. Die Feuerwehr ist am betreffenden Objekt zu instruieren. Es sind ihr Adresse und Telefonnummer der für eine Leitungsausschaltung zuständigen Stelle anzugeben.
5. Bei der Erstellung und Erweiterung von Gebäuden im Leitungsbereich einer bestehenden Freileitung muss der Betriebsinhaber der Leitung die notwendigen Massnahmen zum Schutz der Handwerker anordnen und ihre Einhaltung überwachen.
6. In der Überführungsspannweite muss der Direktabstand zwischen den Leitern mindestens 1,3 m betragen.
7. Auf den Überführungstragwerken sind Vorkehren zu treffen, die ein gefährliches Absinken der Leiter verhindern.
8. Auf den Überführungstragwerken müssen die Leiter starr befestigt werden.
9. Bei Überführungstragwerken mit Einfach-Abspannketten sind in den Leiterschlaufen nur zugfeste Verbindungen zulässig.
10. Auf den Überführungstragwerken müssen die Tragelemente der Luftkabel starr und ohne Sollbruchstelle befestigt werden.
11. In der Überführungsspannweite dürfen die Leiter keine Verbindungen aufweisen.
12. Bei Gebäudeüberführungen dürfen in der Überführungsspannweite keine Luftkabel verwendet werden. Davon ausgenommen sind die werkseigenen und mit dem Erdseil verbundenen Nachrichtenkabel.
13. In der Überführungsspannweite dürfen keine Sportarten wie Speerwerfen oder Hornussen betrieben werden, bei denen die Gefahr einer Beschädigung der Leiter oder Isolatoren besteht.
14. Werden für Mehrfachaufhängung oder -abspannung Verbundisolatoren aus Kunststoff verwendet, so sind sie einer vermehrten Sichtkontrolle zu unterziehen.
15. Auf den Überführungstragwerken muss die Leiterisolation mindestens für eine Nennspannung von 50 kV bemessen sein.
16. Auf den Überführungstragwerken von Weitspannleitungen dürfen weder Stützen- noch Stütz-Isolatoren verwendet werden.
17. In der Überführungsspannweite müssen Leiter und Tragelemente von Luftkabeln mindestens die folgenden Querschnitte aufweisen:
Leiter-Werkstoff | minimaler Leiterquerschnitt in mm2 | |
Regel-Leitung | Weitspann-Leitung | |
Kupfer | 70 | 120 |
Aluminium | 185 | 300 |
Aluminium-Legierung (Aldrey) | 120 | 240 |
Stahl, Al- und Cu-ummantelter Stahl | 50 | 70 |
Ist bei Verbundseilen der Stahl alleiniges Tragelement, so muss der Stahlanteil einen Querschnitt von wenigstens 70 mm2 aufweisen.
18. Als Überführungstragwerke dürfen keine Stützmasten verwendet werden.
19. Überführungstragwerke aus Holz sind mit Sockeln oder besonderen Fundamenten nach Artikel 61 Absatz 5 zu versehen. Diese Tragwerke sind für Ausnahmelasten nach Anhang 14 Ziffer 4.3 zu bemessen.
20. Tragwerke sind speziell zu schützen, wenn die Gefahr der Beschädigung durch Fahrzeuge besteht.
21. Die Tragwerke aus Holz sind zu verankern, wenn ihre Schiefstellung wesentliche Gefahren verursachen kann.
22. Überführungstragwerke müssen so geerdet werden, dass keine gefährlichen Berührungs- oder Schrittspannungen auftreten können.
23. Im Bereich der Masterdung von Überführungstragwerken dürfen sich keine elektrisch leitenden Leitungen befinden.
24. Fest montierte Metallkonstruktionen im Leitungsbereich wie Umzäunungen, Ballfangnetze, Klettergerüste oder Scheibenstände sind zu erden. Die Konstruktionen und Erdungen dürfen nicht durch den Bereich der Masterdung geführt werden.
25. Auf überführten Gebäuden ist eine geerdete Vorrichtung anzubringen, die beim Absinken eines Leiters eine sofortige Abschaltung der Leitung bewirkt oder das Auftreten von gefährlichen Potentialunterschieden zwischen Leiter und Erdboden verhindert.
26. Wo notwendig, sind die metallenen Konstruktionsteile und die Inneneinrichtung eines Gebäudes im Leitungsbereich zu erden, und an den elektrischen Verteiltafeln ist eine Hinweistafel anzubringen, die auf die Gefahr von kapazitiven Spannungen bei ausgeschalteten Installationen aufmerksam macht.
(Art. 14, 34 und 119)
Direktabstand
in begehbarem oder befahrbarem Gebiet 5 m
in unwegsamem, nicht befahrbarem Gebiet 4 m
Vertikal- | Direkt- | ||
Niederspannungsleitung | Leiter, Luftkabel, Erdleiter | 6 m | 5 m |
Hochspannungs-Regelleitung in unwegsamem, | Leiter Luftkabel, Erdleiter | 6 m + s 6 m | 5 m + s 5 m |
Hochspannungs-Regelleitung im übrigen Gebiet | Leiter Luftkabel, Erdleiter | 7 m + s 7 m | 5 m + s 5 m |
Hochspannungs- | Leiter Luftkabel, Erdleiter | 7,5 m + s 7,5 m | 5 m + s 5 m |
s = 0,01 m pro kV Nennspannung |
(Art. 24)
1.1 Die Festigkeit von Tragwerken ist unter Berücksichtigung des Endausbaus aufgrund folgender Belastungsannahmen zu berechnen:
1.2 Für Gegenden, wo erfahrungsgemäss wesentlich günstigere oder ungünstigere Verhältnisse herrschen, kann die zuständige Kontrollstelle in Einzelfällen andere Werte für den Winddruck festsetzen.
1.3 Die vom Wind getroffenen Flächen A eines Fachwerkes sind nach folgender Formel zu bestimmen:

In dieser Formel bedeuten:
1.4 Die Belastungsannahmen sind zu ergänzen für:
Den Berechnungen sind die ungünstigsten zu erwartenden Belastungen zugrundezulegen
Die Festigkeit der Tragwerke muss Gewähr dafür bieten, dass beim Einwirken der angenommenen Belastungen nach Ziffer 1 die folgenden Sicherheitswerte nicht unterschritten werden:
Holz 2,5 fach
Metall 2,25 fach
andere Materialien 2,5 fach
Der Berechnung der erforderlichen Festigkeit von Holztragwerken sind die folgenden Werte zugrunde zu legen:
Zulässige Beanspruchung | |||||
Einheit | Zug | Druck | Biegung | Abscherung | |
Weich- und Hartholz | N/mm2 | 12 | 12 | 18 | 2,2 |
Elastizitätsmodul 10 000 N/mm2 |
4.1 Auf Druck beanspruchte Konstruktionsteile aus Holz, bei denen Knickgefahr besteht, sind auf ihre Knicksicherheit zu untersuchen.
4.2 Die Beanspruchung k darf bei ganz oder annähernd zentrischem Kraftangriff höchstens betragen:
k = 13,2 – 0,092 · [N/mm2] für 13 100


lk = Knicklänge in cm
i = Trägheitsradius in cm
In diesen Formeln ist die Sicherheit nach Ziffer 2 eingeschlossen. Für die freie Knicklänge lk ist in der Regel die ganze freie Systemlänge l einzusetzen. Handelt es sich indessen um Konstruktionsteile, die mit mehreren mechanischen Verbindungselementen befestigt sind, so darf der 0,8 fache Betrag der Systemlänge in Rechnung gesetzt werden. Exzentrischer Kraftangriff oder besondere Einspannungs- oder Führungsverhältnisse, durch welche die Knicksicherheit besonders ungünstig beeinflusst wird, sind zu berücksichtigen.
(Art. 29)
1. Bei trockenem Wetter und bei Temperaturen über 10C dürfen bei einer Messfrequenz von 500 kHz die folgenden Werte nicht überschritten werden:
Anlage | Störspannung | Störfeldstärken |
Isolatoren und Armaturen | 40 | – |
Hochspannungsleitungen unter 100 kV |
|
|
Hochspannungsleitungen über 100 kV |
|
|
|
2. Da das Störvermögen unter anderem von den örtlichen und klimatischen Verhältnissen abhängt, sind die Einzelheiten der Messung von Fall zu Fall zwischen den interessierten Kreisen und der Generaldirektion PTT Telecom zu vereinbaren.
3. Messanordnungen und Messmethoden richten sich nach der CISPR41-Publikation 16, Ziffer 21.
41
(Art. 33, 89, 101, 108 und 113)
1.1 Der Direktabstand z von blanken spannungsführenden Teilen zu geerdeten Tragwerksteilen darf die folgenden Werte nicht unterschreiten:
1.2 Bei Nennspannungen über 1 kV sind jedoch in jedem Fall mindestens 0,10 m Abstand einzuhalten.
2.1 Abstände zwischen den Leitern auf dem Tragwerk
2.1.1 Blanke, spannungsführende Leiter dürfen folgenden Direktabstand z gegenüber einem Leiter des gleichen Stromkreises, einem Erdleiter oder einem Luftkabel nicht unterschreiten:
2.1.2 Blanke, spannungsführende Leiter dürfen folgenden Direktabstand z gegenüber einem Leiter eines anderen Stromkreises nicht unterschreiten:
2.1.3 In jedem Fall sind jedoch mindestens 0,50 m Abstand einzuhalten.
2.2 Abstände zwischen den Leitern in der Spannweite
2.2.1 Direktabstand z zweier Leiter in der Spannweite:
|
|
|
|
2.2.2 Bei durch Wind ausgelenkten Leitern müssen die Abstände C3 bzw. C4 eingehalten werden. Die Auslenkung von Leitern ist dabei mit bis zu 40 Prozent unterschiedlichen Windkräften zu ermitteln. Gegenüber Leitern und Tragwerken benachbarter Leitungen sind jedoch in jedem Fall die Abstände nach Ziffer 1.2 bzw. Ziffer 2.1.3 einzuhalten.
2.2.3 Bei Leitern mit verschiedenen Querschnitten, aus unterschiedlichen Werkstoffen oder mit ungleichen Durchhängen ist der Abstand für jeden Leiter separat zu ermitteln und der grössere so ermittelte Abstand einzuhalten.
2.2.4 Bei Phasenabstandhaltern zwischen Leitern darf der folgende Direktabstand z nicht unterschritten werden:
|
|
|
|
In jedem Fall sind jedoch mindestens 0,90 m Abstand einzuhalten.
2.3 Bei Leitungen mit Stromkreisen verschiedener Nennspannungen ist für die Abstände aus der Tabelle 2.4.1 immer die grössere Nennspannung massgebend.
2.4 Legende und Erläuterungen zu obigen Formeln und zu Tabelle 2.4.1
– z | = | Direktabstand in m |
– f | = | Durchhang der Leiter in m bei 10 °C Leitertemperatur |
– df | = | grösster Durchhang zwischen den Phasenabstandhaltern in m |
– lk | = | Baulänge von Hängeketten in m |
– C1, C2, C3, C4 | = | Abstände gemäss Tabelle 2.4.1 in m |
– k | = | Faktor gemäss Diagramm 2.4.2 oder 2.4.3 |
2.5 Die massgebenden Prüfspannungen sind einerseits davon abhängig, ob die Abstände für den Ruhezustand des Systems oder für kurzzeitige Annäherungen (z.B. bei Windauslenkung) zu bestimmen sind und andererseits davon, ob es sich um Abstände Leiter–Leiter innerhalb eines Stromkreises oder gegenüber einem anderen Stromkreis handelt.
Für Gegenden mit besonderen klimatischen Bedingungen sind die Abstände entsprechend zu vergrössern.
Tabelle 2.4.1
Spannungsunabhängige Direktabstände
Abstände bei ruhendem | Nennspannung | Abstände bei kurzzeitiger Annäherung | ||||
C1 | C2 | C3 | C4 | |||
Innerhalb | Zwischen | Massgebende |
| Massgebende | Innerhalb | Zwischen |
0,05 | 0,05 | < 1 | 0,05 | 0,05 | ||
0,06 | 40 | 3 | 0,06 | |||
0,06 | 46 | 0,06 | ||||
0,09 | 60 | 6 | 0,09 | |||
0,09 | 70 | 0,09 | ||||
0,12 | 75 | 10 | 0,12 | |||
0,12 | 85 | 0,12 | ||||
0,16 | 95 | 15 | 0,16 | |||
0,17 | 110 | 0,16 | ||||
0,22 | 125 | 20 | 0,18 | |||
0,26 | 145 | 0,18 | ||||
0,32 | 170 | 30 | 70 | 0,21 | ||
0,39 | 195 | 80 | 0,24 | |||
0,52 | 250 | 45 | 95 | 0,30 | ||
0,63 | 290 | 110 | 0,36 | |||
0,70 | 325 | 60 | 140 | 0,45 | ||
0,82 | 375 | 160 | 0,52 | |||
0,92 | 450 | 110 | 185 | 0,61 | ||
1,12 | 550 | und | 230 | 0,76 | ||
1,38 | 650 | 132 | 265 | 0,89 | ||
1,32 | 650 | 150 | 275 | 0,92 | ||
1,64 | 750 | 315 | 1,05 | |||
1,93 | 950 | 220 | 395 | 1,35 | ||
2,29 | 1050 | 460 | 1,60 | |||
2,14 | 1050 | 460 | 1,60 | |||
2,56 | 1175 | 530 | 1,90 | |||
2,64 | 1300 | 380 | 570 | 2,09 | ||
3,37 | 1550 | 610 | 2,30 | |||
2,90 | 1425 | 630 | 2,33 | |||
3,64 | 1675 | 720 | 2,86 | |||
Die in Tabelle 2.4.1 angegebenen Abstände gelten für Höhen bis 1000 m über Meer, |
Faktor k bei einem Winddruck von 500 N/m2
Diagramm 2.4.2

| 0 < w 16,8 | Cu | : A > 70 mm2 | |
Ac | : A > 95 mm2 | |||
Al, Ad | : A > 600 mm2 | |||
| 16,8 < w 28,5 | Cu | : 19,6 A 70 mm2 | |
Ac | : 50 A 95 mm2 | |||
Al, Ad | : 300 A 600 mm2 | |||
| 28,5 < w 42,8 | Ac | : A < 50 mm2 | |
Al, Ad | : 185 A < 300 mm2 | |||
| 42,8 < w | Al, Ad | : A < 185 mm2 |
Faktor k bei einem Winddruck von 650 N/m2
Diagramm 2.4.3

| 0 < w 12,9 | Cu | : A > 95 mm2 | |
Ac | : A > 150 mm2 | |||
Al, Ad | : A > 1000 mm2 | |||
| 12,9 < w 22,0 | Cu | : 50 A 95 mm2 | |
Ac | : 70 A 150 mm2 | |||
Al, Ad | : 500 A 1000 mm2 | |||
| 22,0 < w 33,0 | Cu | : A < 50 mm2 | |
Ac | : A < 70 mm2 | |||
Al, Ad | : 240 A < 500 mm2 | |||
| 33,0 < w | Al, Ad | : A < 240 mm2 |
Legende zu den Diagrammen 2.4.2 und 2.4.3 zur Bestimmung des Faktors k als Funktion des Systemwinkels β und des Ausschwingwinkels unter Windeinwirkung
| Winkel eines Leiters zur Vertikalen durch den benachbarten Leiter |

| |
| w = d/q |
d: Seildurchmesser in mm | |
q: Seilgewicht in kg/m | |
| p1 = 500 N/m2 |
p2 = 650 N/m2 | |
|
Ausschwingung | p1 pl = 500 N/m2 | p2 = 650 N/m2 |
0° < ≤ 40° | 0 < w ≤ 16,8 | 0 < w ≤ 12,9 |
40° < ≤ 55° | 16,8 < w ≤ 28,5 | 12,9 < w ≤ 22,0 |
55° < ≤ 65° | 28,5 < w ≤ 42,8 | 22,0 < w ≤ 33,0 |
65° < | 42,8 < w | 33,0 < w |
(Art. 37)
Direktabstand zu beweglichen Gebäudeteilen | 0,60 m | |
Direktabstand zu Fensteröffnungen, geerdeten oder elektrisch |
| |
bei Luftkabeln, wenn keine mechanische Beschädigung |
| |
Direktabstand zu Blitzschutzanlagen und anderen geerdeten Teilen | ||
im und am Gebäude von: |
|
|
Kann dieser Direktabstand nicht eingehalten werden, so müssen | ||
Vertikalabstand zu nicht allgemein zugänglichen Dächern | 1,80 m | |
bei Luftkabeln, wenn keine mechanische Beschädigung |
| |
Vertikalabstand zu allgemein zugänglichen Dächern, Balkonen |
|
(Art. 38)
Gebäude überragt den untersten Leiter nicht

= Gerade durch den Befestigungspunkt der Hänge-/Abspannketten auf nächsten Masten am Ort der Gebäudeannäherung
f10 = Leiterdurchhang bei 10 °C am Ort der Gebäudeannäherung
lk = Länge der Hängekette (bei Abspannketten lk = 0, bei einseitiger Hängekette lk im Verhältnis der Teilspannweiten reduziert)
= Ausschwingwinkel bei Leiter–Windauslenkung
s = 0,01 m pro kV der Nennspannung
Gebäude überragt den untersten Leiter

= Gerade durch den Befestigungspunkt der Hänge-/Abspannketten auf nächsten Masten am Ort der Gebäudeannäherung
f10 = Leiterdurchhang bei 10 °C am Ort der Gebäudeannäherung
lk = Länge der Hängekette (bei Abspannketten lk = 0, bei einseitiger Hängekette lk im Verhältnis der Teilspannweiten reduziert)
= Ausschwingwinkel bei Leiter–Windauslenkung
s = 0,01 m pro kV der Nennspannung
h = Überragung Dachkante–unterster Leiter
(Art. 42)
Kandelaber ohne fest angebrachte Steigvorrichtung

-·-·-·-·-·-·-· | Abstände bei grösstem Durchhang des ruhenden Leiters bzw. Luftkabels | |
a = 2,5 m + 0,01 m/kV Nennspannung | ||
b = 5,0 m + 0,01 m/kV Nennspannung | ||
················ | Abstand bei kurzzeitiger Annäherung (z. B. Windauslenkung) und einer Leiter- bzw. Luftkabeltemperatur von 10 °C | |
c = 0,01 m/kV Nennspannung, mindestens jedoch 1,5 m |
(Art. 44)


(Art. 45)
Kennwerte der gebräuchlichsten Leiterwerkstoffe
Werkstoff | Leiter | Querschnitt | Spezifisches | Elastizitäts- | Wärme-ausdehnungskoeffizient | Dehn-grenze | Bruch- | Zuläs-sige |
Kupfer | Draht | A ≤ 50 mm2 | 8,9 · 10–6 | 115 | 17 · 10–6 | 250 | 280 | 180 |
Kupfer | Draht | A ≤ 50 mm2 | 8,9 · 10–6 | 125 | 17 · 10–6 | 350 | 380 | 250 |
Kupfer | Seil | 9,0 · 10–6 | 105 | 17 · 10–6 | 390 | 260 | ||
Aluminium | Seil | 2,75 · 10–6 | 54 | 23 · 10–6 | 170 | 1101) | ||
Aluminium- | Draht | A ≤ 50 mm2 | 2,75 · 10–6 | 70 | 23 · 10–6 | 270 | 310 | 200 |
Aluminium- | Seil | 2,75 · 10–6 | 57 | 23 · 10–6 | 295 | 190 | ||
Stahl | Draht | A ≤ 50 mm2 | 7,8 · 10–6 | 200 | 11,5 · 10–6 | 11502) | 1200 | 800 |
Stahl | Seil | 8,0 · 10–6 | 185 | 11,5 · 10–6 | 1180 | 780 | ||
| ||||||||
|
(Art. 48)
Leiter | Leiterdurchhang in cm | Beanspruchung in N/mm2 | Zustand | ||||||||||
Material | Querschnitt | 20 | 30 | 40 | 50 | 60 | 20 | 30 | 40 | 50 | 60 | Temp. | |
Aluminium- | 95 | 3 | 7 | 13 | 24 | 40 | 50 | 47 | 42 | 37 | 31 | –20 | |
seil | 5 | 13 | 26 | 44 | 68 | 26 | 24 | 21 | 20 | 18 | 0 | ||
9 | 21 | 37 | 58 | 83 | 15 | 15 | 15 | 15 | 15 | 10 | |||
16 | 31 | 49 | 71 | 98 | 9 | 10 | 11 | 12 | 13 | 20 | |||
29 | 47 | 69 | 94 | 123 | 5 | 7 | 8 | 9 | 10 | 40 | |||
25 | 47 | 74 | 104 | 139 | 48 | 57 | 65 | 72 | 77 | 0+Z | |||
150 | 3 | 7 | 13 | 24 | 40 | 50 | 47 | 42 | 37 | 31 | –20 | ||
5 | 13 | 26 | 44 | 68 | 26 | 24 | 21 | 20 | 18 | 0 | |||
9 | 21 | 37 | 58 | 83 | 15 | 15 | 15 | 15 | 15 | 10 | |||
16 | 31 | 49 | 71 | 98 | 9 | 10 | 11 | 12 | 13 | 20 | |||
29 | 47 | 69 | 94 | 123 | 5 | 7 | 8 | 9 | 10 | 40 | |||
20 | 39 | 63 | 90 | 122 | 40 | 46 | 51 | 56 | 60 | 0+Z | |||
Aldrey- | 50 | 2 | 5 | 10 | 16 | 26 | 60 | 58 | 55 | 52 | 48 | –20 | |
seil | 4 | 10 | 18 | 30 | 46 | 33 | 31 | 30 | 28 | 27 | 0 | ||
7 | 15 | 27 | 43 | 61 | 20 | 20 | 20 | 20 | 20 | 10 | |||
13 | 24 | 39 | 56 | 77 | 11 | 13 | 14 | 15 | 16 | 20 | |||
27 | 43 | 61 | 82 | 106 | 5 | 7 | 9 | 10 | 12 | 40 | |||
31 | 56 | 86 | 119 | 155 | 70 | 86 | 100 | 112 | 124 | 0+Z | |||
95 | 2 | 5 | 10 | 16 | 26 | 60 | 58 | 55 | 52 | 48 | –20 | ||
4 | 10 | 18 | 30 | 46 | 33 | 31 | 30 | 28 | 27 | 0 | |||
7 | 15 | 27 | 43 | 61 | 20 | 20 | 20 | 20 | 20 | 10 | |||
13 | 24 | 39 | 56 | 77 | 11 | 13 | 14 | 15 | 16 | 20 | |||
27 | 43 | 61 | 82 | 106 | 5 | 7 | 9 | 10 | 12 | 40 | |||
23 | 43 | 67 | 95 | 125 | 52 | 62 | 71 | 79 | 86 | 0+Z | |||
150 | 3 | 6 | 13 | 23 | 39 | 53 | 49 | 44 | 38 | 32 | –20 | ||
5 | 13 | 26 | 44 | 68 | 27 | 24 | 22 | 20 | 18 | 0 | |||
9 | 21 | 37 | 58 | 84 | 15 | 15 | 15 | 15 | 15 | 10 | |||
16 | 31 | 49 | 71 | 98 | 9 | 10 | 11 | 12 | 13 | 20 | |||
29 | 48 | 70 | 95 | 123 | 5 | 7 | 8 | 9 | 10 | 40 | |||
20 | 38 | 62 | 88 | 119 | 41 | 47 | 53 | 57 | 61 | 0+Z | |||
Z = Zusatzlast 20 N/m |
Leiter | Leiterdurchhang in cm | Beanspruchung in N/mm2 | Zustand | |||||||||||
Material | | Querschnitt | 20 | 30 | 40 | 50 | 60 | 20 | 30 | 40 | 50 | 60 | Temp. | |
Kupfer‑ | 5 | 5 | 14 | 29 | 54 | 87 | 85 | 74 | 61 | 52 | 46 | –20 | ||
draht | 9 | 23 | 43 | 71 | 106 | 49 | 44 | 41 | 39 | 38 | 0 | |||
halbhart | 13 | 29 | 51 | 80 | 115 | 35 | 35 | 35 | 35 | 35 | 10 | |||
17 | 35 | 58 | 88 | 123 | 26 | 29 | 31 | 32 | 33 | 20 | ||||
26 | 47 | 72 | 103 | 139 | 17 | 22 | 25 | 27 | 29 | 40 | ||||
37 | 67 | 103 | 144 | 191 | 151 | 186 | 216 | 241 | 262 | 0+Z | ||||
6 | 5 | 14 | 29 | 54 | 87 | 85 | 74 | 61 | 52 | 46 | –20 | |||
9 | 23 | 43 | 71 | 106 | 49 | 44 | 41 | 39 | 38 | 0 | ||||
13 | 29 | 51 | 80 | 115 | 35 | 35 | 35 | 35 | 35 | 10 | ||||
17 | 35 | 58 | 88 | 123 | 26 | 29 | 31 | 32 | 33 | 20 | ||||
26 | 47 | 72 | 103 | 139 | 17 | 22 | 25 | 27 | 29 | 40 | ||||
32 | 59 | 92 | 130 | 174 | 124 | 151 | 173 | 191 | 207 | 0+Z | ||||
8 | 5 | 14 | 29 | 54 | 87 | 85 | 74 | 61 | 52 | 46 | –20 | |||
9 | 23 | 43 | 71 | 106 | 49 | 44 | 41 | 39 | 38 | 0 | ||||
13 | 29 | 51 | 80 | 115 | 35 | 35 | 35 | 35 | 35 | 10 | ||||
17 | 35 | 58 | 88 | 123 | 26 | 29 | 31 | 32 | 33 | 20 | ||||
26 | 47 | 72 | 103 | 139 | 17 | 22 | 25 | 27 | 29 | 40 | ||||
26 | 49 | 78 | 112 | 152 | 95 | 112 | 125 | 136 | 144 | 0+Z | ||||
Kupfer‑ | 50 | 6 | 15 | 31 | 57 | 92 | 81 | 70 | 59 | 50 | 45 | –20 | ||
seil | 10 | 24 | 45 | 74 | 110 | 48 | 44 | 41 | 39 | 38 | 0 | |||
13 | 30 | 53 | 82 | 118 | 35 | 35 | 35 | 35 | 35 | 10 | ||||
18 | 36 | 60 | 90 | 127 | 26 | 29 | 31 | 32 | 35 | 20 | ||||
26 | 47 | 73 | 105 | 142 | 17 | 22 | 25 | 28 | 29 | 40 | ||||
26 | 51 | 81 | 116 | 157 | 93 | 109 | 122 | 133 | 141 | 0+Z | ||||
95 | 6 | 15 | 31 | 57 | 92 | 81 | 70 | 59 | 50 | 45 | –20 | |||
10 | 24 | 45 | 74 | 110 | 48 | 44 | 41 | 39 | 38 | 0 | ||||
13 | 30 | 53 | 82 | 118 | 35 | 35 | 35 | 35 | 35 | 10 | ||||
18 | 36 | 60 | 90 | 127 | 26 | 29 | 31 | 32 | 35 | 20 | ||||
26 | 47 | 73 | 105 | 142 | 17 | 22 | 25 | 28 | 29 | 40 | ||||
21 | 42 | 68 | 101 | 139 | 73 | 82 | 89 | 94 | 98 | 0+Z | ||||
Z = Zusatzlast 20 N/m | ||||||||||||||
(Art. 52, 56 und 58)
1.1 Stäbe unter reinem Druck sind auf Knicken zu bemessen. Für Stäbe von Gittermasten sind folgende Schlankheiten einzuhalten:
1.2 Für Fachwerkstäbe gilt für die Knicklänge grundsätzlich lk = ls, wobei ls die theoretische Stablänge zwischen den in Knickrichtung festgehaltenen Knotenpunkten ist.
1.3 Werden die Diagonalen beidseitig mit zwei oder mehr Schrauben angeschlossen, so kann mit lk = 0,8 · ls gerechnet werden.
1.4 Für durch räumlich gehaltene Fachwerkknoten biegesteif durchlaufende Eckpfosten darf die Knicklänge auf lk = 0,85 · ls reduziert werden.
1.5 Für einseitig in Fundamente eingespannte Eckpfosten darf eine Knicklängenreduktion von lk = 0,8 · ls vorgenommen werden.
1.6 Schraubenverbindungen dürfen keine kleineren Randabstände als 1,2 Schraubendurchmesser aufweisen. Die Schraubenabstände untereinander müssen mindestens 2,2 Schraubendurchmesser betragen.
1.7 Stäbe unter Druck und Biegung sind nach Theorie zweiter Ordnung zu bemessen. Zudem ist nachzuweisen, dass alle Ouerschnitte in der Lage sind, den nach Theorie erster Ordnung ermittelten Momenten und Normalkräften das Gleichgewicht zu halten, ohne die Grenzspannungen zu überschreiten. Dünnwandige Profile unter Druck sind auf genügende Beulsicherheit zu bemessen.
1.8 Der Sicherheitsfaktor, bezogen auf die Grenzspannungen, beträgt 1,4. Er ist zusammengesetzt aus einem Faktor für den Tragwiderstand von 1,1 und einem Faktor für die Lasten von 1,3.
2.1 Betontragwerke sind nach anerkannten Regeln der Technik mit der Theorie zweiter Ordnung zu bemessen. Insbesondere sind die exzentrischen Kräfte der Auslegergewichte und Leiter infolge der Mastdeformation zu berücksichtigen.
2.2 Für die Knicklänge lk gilt bei einstieligen Tragwerken lk = 2 · l, wobei l der Abstand ab Fundament bis zur Resultierenden des Lastangriffes darstellt.
2.3 Kuppelmaste aus zwei gleichen Masten sind für die Belastung senkrecht zur Ebene der beiden Mastachsen, bezüglich Biegung und Torsion, wie zwei einstielige Masten zu berechnen. In der Ebene der beiden Mastachsen kann jedoch für die Biegung der dreifache Widerstand eines einstieligen Mastes eingesetzt werden, sofern eine zuverlässige Schubverbindung vorhanden ist.
2.4 A-Masten sind senkrecht zur Ebene der beiden Mastachsen wie zwei einstielige Masten zu berechnen. In der Ebene der beiden Mastachsen kann die Knicklänge mit 70 Prozent der Länge der Druckstrebe ab Fundament angenommen werden, sofern die Schubkräfte am Zopf übertragen werden können.
2.5 Zur Erzeugung der Vorspannung dürfen nur Stähle hoher Festigkeit verwendet werden. Zusätzlich ist eine schlaffe Längsarmierung von mindestens 0,6 Prozent des Betonquerschnittes einzulegen.
2.6 Für Tragwerke, die aus Rüttelbeton hergestellt sind, ist der Sicherheitsfaktor, bezogen auf die rechnerischen Grenzspannungen, 1,7. Er ist zusammengesetzt aus einem Faktor für den Tragwiderstand von 1,3 und einem Faktor für die Lasten von 1,3.
2.7 Für Tragwerke, die aus Schleuderbeton hergestellt sind, ist der Sicherheitsfaktor 1,55. Er ist zusammengesetzt aus einem Faktor für den Tragwiderstand von 1,2 und einem Faktor für die Lasten von 1,3.
2.8 Einstielige Masten und Kuppelmasten aus Schleuderbeton bis zu einer Zopfhöhe von 37 m über dem Fundament können auch als reine Biegebalken unter der Annahme einer vollständigen Plastifizierung des Querschnittes bemessen werden. Für diesen Nachweis beträgt der Sicherheitsfaktor 2.
3.1 Tragwerke und Tragwerkteile aus Holz sind so zu dimensionieren, dass die folgenden Grenzspannungen nicht überschritten werden:
Beanspruchung | Symbol | Grenzspannung N/mm2 |
Biegung | b | 45 |
Zug | z | 30 |
Druck parallel zur Faserrichtung | dº, | 30 |
Druck quer zur Faserrichtung | d | 11,5 |
Abscheren parallel zur Faserrichtung | º, | 5,5 |
Abscheren quer zur Faserrichtung | 9 | |
Der Elastizitätsmodul beträgt 10 000 N/mm2.
3.2 Bei zentrisch auf Druck belasteten Massivholzquerschnitten dürfen die Knick-Grenzspannungen gemäss nachstehender Formel nicht überschritten werden:
|
|
|
|
|
|
3.3 Der Sicherheitsfaktor bezogen auf die Grenzspannung beträgt 3,0.
3.4 Für die Knicklänge lk von einfachen Holzmasten gilt, unabhängig von allfälligen Verankerungen, lk = 2 · l, wobei l der Abstand vom Boden bis zum Schwerpunkt des Lastangriffs ist.
3.5 Bei Kuppelmasten darf für die Biegebeanspruchung in Richtung der Ebene der beiden Mastachsen mit dem Faktor n = 3 (3faches Widerstandsmoment eines Einzelmastes) gerechnet werden, wenn die Verbindungsart beider Masten den folgenden Bedingungen genügt:
3.6 Für Verbindungsarten, die von den oben erwähnten abweichen, darf grundsätzlich in beiden Kuppelmastachsen nur mit dem Faktor n = 2 gerechnet werden, sofern nicht aufgrund entsprechender Nachweise ein grösserer Faktor n zulässig ist.
3.7 A-Masten oder Masten mit Streben sind senkrecht zur Ebene der beiden Mastachsen wie zwei einstielige Maste zu berechnen. In der Ebene der beiden Mastachsen kann die Knicklänge als 70 Prozent der betroffenen Mastlänge über dem Boden angenommen werden, sofern die Schubkräfte durch die Verbindung der beiden Masten bzw. durch die Verbindung des Mastes mit der Strebe übertragen werden können.
(Art. 54, 98 und 105)
Die verschiedenen Tragwerksarten und deren Fundamente sind nach den folgenden Belastungsannahmen zu berechnen. Diese gelten sinngemäss auch für besondere Tragwerke und für Tragwerke von Freiluftanlagen.
2.1 Für jede Belastungsannahme sind immer alle Vertikalkräfte als wirksam anzunehmen, jene der Leiter, Luftkabel und Erdleiter, je nach Fall mit oder ohne Zusatzlast. Bei den theoretischen Lastannahmen wirken alle Vertikalkräfte, auch wenn die Horizontalzüge nur teilweise wirksam angenommen werden müssen. Für die Vertikalkräfte sind grundsätzlich alle angrenzenden virtuellen Spannweiten massgebend.
2.2 Das Eigengewicht der Konstruktion und der Isolatoren muss für alle Belastungsannahmen berücksichtigt werden.
2.3 Die resultierenden Horizontalzüge (Differenzzüge) bei der Verwendung von Stützen- oder Stützisolatoren sind zu berücksichtigen.
2.4 Für Masten, die vorläufig nur teilweise belegt werden, sind der Teil- und der Vollausbau in den Belastungsannahmen zu berücksichtigen.
2.5 Für Regelleitungen müssen Torsionskräfte nicht berücksichtigt werden, wenn der Abstand zwischen den Leitern und der Mast- oder Stangenachse nicht mehr als 0,8 m beträgt.
2.6 Erdleiter, die nicht an der Tragwerkspitze angebracht sind, werden wie gewöhnliche Leiter behandelt.
3.1 Es wirken die resultierenden Horizontalzüge aller Leiter und Erdleiter bei 0 °C ohne Zusatzlast und die Windkräfte senkrecht auf die Leitung. Für Tragwerke in Winkelpunkten der Leitung wirken die Windkräfte auf die Leiter und das Tragwerk in Richtung der Winkelhalbierenden.
3.2 Bei Leitungswinkeln von 200 gon wirken die resultierenden Horizontalzüge aller Leiter und Erdleiter bei 0 °C ohne Zusatzlast und die Windkräfte in Leitungsrichtung auf das Tragwerk.
3.3 Es wirken die resultierenden Horizontalzüge aller Leiter und Erdleiter bei –20 °C ohne Zusatzlast auf das Tragwerk.
3.4 Es wirken die resultierenden Horizontalzüge aller Leiter und Erdleiter bei 0 °C mit Zusatzlasten auf das Tragwerk.
4.1 Stützmaste
4.1.1 Auf das Tragwerk wirken 5 Prozent der einseitigen Horizontalzüge aller Leiter und Erdleiter bei –20 °C ohne Zusatzlast. Zusätzlich wirkt die Windlast auf das Tragwerk in Leitungsrichtung.
4.1.2 Auf das Tragwerk wirken 30 Prozent des einseitigen Horizontalzuges der/des Erdleiter/s bei 0 °C mit Zusatzlast.
4.2 Tragmaste
4.2.1 Auf das Tragwerk wirken 5 Prozent der einseitigen Horizontalzüge aller Leiter und Erdleiter bei –20 °C ohne Zusatzlast. Zusätzlich wirkt die Windlast auf das Tragwerk in Leitungsrichtung.
4.2.2 Auf das Tragwerk wirken 30 Prozent des einseitigen Horizontalzuges eines Leiters, Teilleiters oder Erdleiters bei 0 °C mit Zusatzlast in demjenigen Befestigungspunkt, der die ungünstigste Beanspruchung ergibt, wobei keine Reduktionsfaktoren berücksichtigt werden dürfen.
4.3 Sondertragmaste
4.3.1 Auf das Tragwerk wirken 5 Prozent der einseitigen Horizontalzüge aller Leiter und Erdleiter bei –20 °C ohne Zusatzlast. Zusätzlich wirkt die Windlast auf das Tragwerk in Leitungsrichtung.
4.3.2 Auf das Tragwerk wirken 15 Prozent der einseitigen Horizontalzüge aller Leiter und Erdleiter bei 0 °C ohne Zusatzlast. Zusätzlich wirkt die Windlast auf das Tragwerk in Leitungsrichtung.
4.3.3 Auf das Tragwerk wirken 15 Prozent der einseitigen Horizontalzüge aller Leiter und Erdleiter bei 0 °C mit Zusatzlast.
4.3.4 Auf das Tragwerk wirken 80 Prozent des einseitigen Horizontalzuges eines Leiters, Teilleiters oder Erdleiters bei 0 °C mit Zusatzlast in demjenigen Befestigungspunkt, der die ungünstigste Beanspruchung ergibt, wobei keine Reduktionsfaktoren berücksichtigt werden dürfen.
4.4 Abspannmaste
4.4.1 Auf das Tragwerk wirkt der volle einseitige Horizontalzug des Erdleiters bei 0 °C mit Zusatzlast, wobei keine Reduktionsfaktoren berücksichtigt werden dürfen.
4.4.2 Auf das Tragwerk wirkt ein Anteil der einseitigen Horizontalzüge der Leiter bei 0 °C mit Zusatzlast gemäss der folgenden Tabelle, wobei keine Reduktionsfaktoren berücksichtigt werden dürfen.
Anzahl Leiter | zu berücksichtigender Anteil |
1 | 100 |
2 | 80 |
3 | 65 |
4 | 55 |
5 | 50 |
6 | 45 |
7 und mehr | 40 |
4.4.3 Auf das Tragwerk wirkt der volle einseitige Horizontalzug bei 0 °C mit Zusatzlast zweier in gleicher Richtung wirkender Leiter oder eines Bündelleiters in denjenigen Befestigungspunkten, die die ungünstigste Torsionsbeanspruchung ergeben, wobei keine Reduktionsfaktoren berücksichtigt werden dürfen.
4.5 Endmaste
Auf das Tragwerk wirkt der volle einseitige Horizontalzug bei 0 °C mit Zusatzlast zweier in gleicher Richtung wirkender Leiter oder eines Bündelleiters in denjenigen Befestigungspunkten, die die ungünstigste Torsionsbeanspruchung ergeben, wobei keine Reduktionsfaktoren berücksichtigt werden dürfen.
(Art. 54)
1.1 Die Tragwerke, ihre Bestandteile und Fundamente müssen folgenden horizontalen Windkräften standhalten:
Winddruck in Abhängigkeit der Tragwerkshöhe in N/m2
Tragwerke | Höhe | Höhe | Teile |
vollwandige, flache Masten | 1200 | 1450 | 1900 |
Gittermasten mit Winkelprofilen | 1000 | 1200 | 1600 |
Gittermaste mit Rohrprofilen, Masten mit rundem oder annähernd rundem Querschnitt (6 oder mehr Kanten), | 700 | 850 | 1100 |
blanke Leiter, Ankerseile | 500 | 650 | 850 |
1.2 Die Windkräfte wirken grundsätzlich auf die gesamte Freileitung ohne Zusatzlast.
1.3 Erfordern die örtlichen Gegebenheiten die Berücksichtigung grösserer Windkräfte, so sind der Berechnung diese Werte zugrunde zu legen.
1.4 Für die Berechnung der Windkräfte ist die senkrecht zur Windrichtung liegende Ansichtsfläche massgebend. Für die im Windschatten liegende Wand von Gittermasten können die Windkräfte auf die Profile um 20 Prozent reduziert werden.
1.5 Bei Kuppel‑, Doppel- oder A-Tragwerken aus Masten mit kreisförmigem oder annähernd kreisförmigem Querschnitt ist für den im Windschatten liegenden Tragwerksteil folgende Reduktion R der Windkräfte zulässig:
Verhältnis p Reduktion R [%]
p ≤ 2 100
2 < p ≤ 5 30
p > 5 0
«p» ist das auf halber Tragwerkshöhe bestimmte Verhältnis von Mastachsabstand zum Durchmesser der einzelnen Masten.
1.6 Die auf Leiter, Luftkabel und Erdleiter wirkenden Windkräfte nach Ziffer 1.1 können bei mittleren Spannweiten über 225 m gemäss Diagramm 3 reduziert werden.
1.7 Bei Bündelleitern sind die Teilleiter mit den vollen Windkräften zu berücksichtigen.
2.1 Die Tragwerke, ihre Bestandteile und die Fundamente müssen den Leiterkräften, die sich aus der höchstmöglichen Belastung der Leiter nach Artikel 46 ergibt, standhalten.
2.2 Für eine Freileitung mit insgesamt mehr als 6 Leitern (einschliesslich Erdleiter), für die aufgrund der örtlichen Verhältnisse keine grössere Zusatzlast als 20 N/m angenommen werden muss, können die Zusatzlasten für die Berechnung von Tragwerken bei ideellen Spannweiten über 225 m gemäss Diagramm 3 reduziert werden, wobei Teilleiter von Bündelleitern als einzelne Leiter gezählt werden können, wenn die Abspannung des Bündelleiters mit Mehrfachisolatoren erfolgt.
2.3 Schneelasten auf einem Freileitungstragwerk müssen nur berücksichtigt werden, wenn lokale Verhältnisse in exponierten Lagen das erfordern.
2.4 Bei Tragwerken von Freiluftanlagen in Höhen h bis 2000 m über Meer ist pro m2 überdeckter Grundrissfläche folgende Schneelast zu berücksichtigen:

Liegt die Freiluftanlage höher als 2000 m über Meer oder erfordern die örtlichen Gegebenheiten höhere Schneelasten, so sind der Berechnung die separat ermittelten Werte zugrunde zu legen.
3 Reduktionsfaktor Für Windkräfte: mittlere Spannweite am
Für Zusatzlasten: ideelle Spannweite aid
(Art. 57)
Mastenlänge | Stärkeklasse | |||||
I | II | III | ||||
| D1 | D2 | D1 | D2 | D1 | D2 |
10 | 18 | 12 | 20 | 15 | 22 | 16 |
11 | 19 | 13 | 21 | 16 | 23 | 17 |
12 | 20 | 13 | 22 | 16 | 24 | 17 |
13 | 21 | 14 | 23 | 17 | 25 | 18 |
14 | 22 | 14 | 24 | 17 | 26 | 18 |
15 | 23 | 15 | 25 | 18 | 27 | 19 |
16 | 24 | 15 | 26 | 18 | 28 | 19 |
17 | 25 | 15 | 27 | 18 | 29 | 19 |
18 | 26 | 15 | 28 | 18 | 30 | 19 |
D1 = 2 m über Fussende D2 = am Zopf | ||||||
Draht | Seil | |||||||||||
Durchmesser in mm | 5 | 6 | 7 | 8 | 9,1 | 10,9 | 12,6 | 14,2 | 15,9 | 17,6 | 20,2 | 22,5 |
Querschnitt in mm2 | 19,6 | 28,3 | 38,5 | 50 | 50 | 70 | 95 | 120 | 150 | 185 | 240 | 300 |
Bei zweisträngigen Leitungen darf der Gesamtdurchmesser aller Leitungen mit dem Faktor 0,9 reduziert werden.
Nomogramm

(Art. 81 und 89)
Leitungssituation | Leitung Nr. a | Leitung Nr. b | Abstand | |||
| blank | Kabel | blank | Kabel | y = Vertikalabstand | |
N | S | y ≥ 0,5 m für Regel- und Weitspannleitungen | ||||
N | S | y ≥ 0,5 m für Regelleitungen | ||||
N | S | y ≥ 1,0 m für Weitspannleitungen | ||||
N | S | S | z ≥. 1,5 m; y ≥ 1,5 m | |||
H | S | S | z ≥. 1,5 m; y ≥ 1,5 m | |||
H | S | z ≥ Anhang 6, ≥. 1,5 m; y ≥ 1,5 m, nur werkeigene S | ||||
N | N | y ≥ 0,5 m | ||||
N | N | z ≥ Anhang 6, ≥. 1,5 m | ||||
N | N | z ≥ Anhang 6, ≥. 1,5 m | ||||
N | N | z ≥ Anhang 6, ≥. 1,5 m | ||||
H | N | N | z ≥ Anhang 6, ≥. 1,5 m; y ≥ 1,5 m | |||
H | N | N | z ≥ Anhang 6, ≥. 1,5 m; y ≥ 1,5 m | |||
H | H | H | H | z ≥ Anhang 6, ≥. 1,5 m | ||
H = Hochspannungsleitung – N = Niederspannungsleitung – S = Schwachstromleitung
Leitungssituation | Leitung Nr. a | Leitung Nr. b | Abstand | |||
| blank | Kabel | blank | Kabel | y = Vertikalabstand | |
N | S | S | y ≥ 0,5 m | |||
N | S | S | y ≥ 1,5 m | |||
H | S | S | z ≥ Anhang 6, ≥. 1,5 m; y ≥ 1,5 m, nur werkeigene S | |||
H | S | S | y ≥1,5 m | |||
N | N | N | N | z ≥ Anhang 6, ≥. 1,5 m; y ≥ 1,5 m | ||
H | N | N | z ≥Anhang 6, ≥. 1,5 m; y ≥ 1,5 m | |||
H | H | H | H | z ≥Anhang 6, ≥. 1,5 m; y ≥ 1,5 m | ||
H = Hochspannungsleitung – N = Niederspannungsleitung – S = Schwachstromleitung
Leitungssituation | Leitung Nr. a | Leitung Nr. b | Abstand | x= Horizontalabstand | ||||||
blank | Kabel | Spannweite | blank | Kabel | Spannweite | z = Direktabstand | ||||
| ≤ 60 m | > 60 m | ≤ 60 m | >60 m | a = grössere Spannweite in m | |||||
N | S | S | x ≥ 1,0 m | |||||||
N | S | x ≥ 2,0 m + 0,02 a | ||||||||
N | S | x ≥ 2,0 m + 0,02 a | ||||||||
N | S | x ≥ 2,0 m + 0,02 a | ||||||||
N | S | x ≥ 2,0 m + 0,02 a | ||||||||
N | S | S | x ≥ 2,0 m bzw. 1 m, wenn h ≥1 m | |||||||
N | S | S | x ≥ 2 m + 0,02 a; z ≥ Anhang 6 | |||||||
N | S | S | x ≥ 2 m + 0,02 a; z ≥ Anhang 6 | |||||||
H | S | S | x ≥ 2,0 m bzw. 1 m, wenn h ≥1 m | |||||||
H | S | S |
| x ≥ 2 m + 0,02 a; z ≥Anhang 6 | ||||||
H | S | S | x ≥ 2 m + 0,02 a; z ≥Anhang 6 | |||||||
H | S | x ≥10 m | ||||||||
H | S | x ≥20 m, wenn Parallelführung >300 m oder v vorhanden | ||||||||
H | S | x ≥ 10 m, wenn Parallelführung ≤ 300 m | ||||||||
H | S | x ≥ 2 m + 0,02 a; z ≥Anhang (bei Parallelführung ≤ 60 m) | ||||||||
H | S | x ≥ 2 m + 0,02 a; z ≥ Anhang 6 (für Werkleitungen S) | ||||||||
N | N | x ≥ 1,0 m | ||||||||
N | N | x ≥ 1,5 m | ||||||||
N | N | x ≥1,5 m | ||||||||
N | N | x≥ 2,0 m | ||||||||
N | N | x ≥2 m + 0,02 a; z ≥Anhang 6 |
H = Hochspannungsleitung – N = Niederspannungsleitung – S = Schwachstromleitung
Leitungssituation | Leitung Nr. a | Leitung Nr. b | Abstand | x= Horizontalabstand | ||||||
blank | Kabel | Spannweite | Kabel | Spannweite | z = Direktabstand | |||||
| ≤ 60 m | > 60 m | ≤ 60 m | >60 m | a = grössere Spannweite in m | |||||
N | N | x ≥ 2 m + 0,02 a; z ≥ Anhang 6 | ||||||||
N | N | x ≥ 2,0 m | ||||||||
N | N | x ≥ 2 m + 0,02 a; z ≥ Anhang 6 | ||||||||
N | N | x ≥ 2 m + 0,02 a; z ≥ Anhang 6 | ||||||||
N | N | x ≥ 2,0 m | ||||||||
N | N | x ≥ 2 m + 0,02 a; z ≥ Anhang 6 | ||||||||
N | N | x ≥ 2 m + 0,02 a; z ≥ Anhang 6 | ||||||||
H | N | x ≥ 2,0 m | ||||||||
H | N | x ≥ 2 m + 0,02 a; z ≥ Anhang 6 | ||||||||
H | N | x ≥ 2 m + 0,02 a; z ≥ Anhang 6 | ||||||||
H | N | x ≥ 2,0 m | ||||||||
H | N | x ≥ 2 m + 0,02 a; z ≥ Anhang 6 | ||||||||
H | N | x ≥ 2 m + 0,02 a; z ≥ Anhang 6 | ||||||||
H | N | x ≥ 2 m + 0,02 a; z ≥ Anhang 6 | ||||||||
H | N | x ≥ 2 m + 0,02 a; z ≥ Anhang 6 | ||||||||
H | H | x ≥ 2,0 m | ||||||||
H | H | x ≥ 2 m + 0,02 a; z ≥Anhang 6 | ||||||||
H | H | x ≥ 2 m + 0,02 a; z ≥ Anhang 6 | ||||||||
H | H | x ≥ 2 m + 0,02 a; z ≥ Anhang 6 | ||||||||
H |
| H | x ≥ 2 m + 0,02 a; z ≥ Anhang 6 | |||||||
H |
| H | x ≥ 2 m + 0,02 a; z ≥ Anhang 6 |
H = Hochspannungsleitung – N = Niederspannungsleitung – S = Schwachstromleitung
Leitungssituation | Leitung Nr. a | Leitung Nr. b | Abstand | y= Vertikalabstand z = Direktabstand | ||||||
blank | Kabel | Spannweite | blank | Kabel | Spannweite | b = m pro kV der grösseren Nennspannung | ||||
| ≤ 60 m | > 60 m | ≤ 60 m | >60 m | ||||||
N | S | z ≥ 0,5 m | ||||||||
N | S | z ≥ 1,0 m | ||||||||
N | S | S | z ≥1,0 m + 0,02 r | |||||||
N | S | z ≥1,0 m + 0,02 r | ||||||||
N | S | S | z ≥1,5 m | |||||||
N | S | S | z ≥1,0 m + 0,02 r, ≥ 1,5 m | |||||||
N | S | S | z ≥1,5 m + 0,01 r + 0,01 s | |||||||
H | S | S | z ≥1,5 m | |||||||
H | S | S | z ≥1,0 m + 0,02 r, ≥ 1,5 m | |||||||
H | S | S | z ≥1,5 m + 0,01 r + 0,01 s | |||||||
H | S | S | z ≥1,5 m + 0,01 b | |||||||
H | S | S | z ≥1,0 m + 0,01 b + 0,01r, ≥. 1,5 m | |||||||
H | S | S | z ≥1,5 m + 0,01 b + 0,01r + 0,01 s | |||||||
H = Hochspannungsleitung – N = Niederspannungsleitung – S = Schwachstromleitung
Leitungssituation | Leitung Nr. a | Leitung Nr. b | Abstand | y= Vertikalabstand z = Direktabstand | ||||||
blank | Kabel | Spannweite | blank | Kabel | Spannweite | b = m pro kV der grösseren Nennspannung | ||||
| ≤ 60 m | > 60 m | ≤ 60 m | >60 m | ||||||
N | N | z ≥ 0,5 m | ||||||||
N | N | z ≥ 1,5 m | ||||||||
N | N | z ≥ 1,0 m + 0,02 r, ≥.1,5 m | ||||||||
N | N | z ≥ 1,5 m + 0,01 r + 0,01 s | ||||||||
N | N | N | z ≥ 1,5 m | |||||||
N | N | N | z ≥ 1,0 m + 0,02 r, ≥.1,5 m | |||||||
N | N | N | z ≥ 1,5 m + 0,01 r + 0,01 s | |||||||
H | N | N | z ≥ 1,5 m | |||||||
H | N | N | z ≥1,0 m + 0,02 r, ≥.1,5 m | |||||||
H | N | N | z ≥1,5 m + 0,01 r + 0,01 s | |||||||
H | N | N | z ≥1,5 m + 0,01 b | |||||||
H | N | N | z ≥1,0 m + 0,01 b + 0,01r, ≥. 1,5 m | |||||||
H | N | N | z ≥1,5 m + 0,01 b + 0,01r + 0,01 s | |||||||
H | H | z ≥1,5 m | ||||||||
H | H | z ≥1,0 m + 0,02 r, ≥. 1,5 m | ||||||||
H | H | z ≥1,5 m + 0,01 r + 0,01 s | ||||||||
H | H | H | H | z ≥ 1,5 m + 0,01 b | ||||||
H | H | H | H | z ≥1,0 m + 0,01 b + 0,02r, ≥. 1,5 m | ||||||
H | H | H | H | z ≥ 1,5 m + 0,01 b + 0,01r + 0,01 s |
H = Hochspannungsleitung – N = Niederspannungsleitung – S = Schwachstromleitung
Leitungssituation | Tragwerk / Leitung Nr. a | Leitung Nr. b | Abstand | x= Horizontalabstand | ||||||
blank | Kabel | Spannweite | blank | Kabel | Spannweite | z = Direktabstand | ||||
| ≤ 60 m | > 60 m | ≤ 60 m | >60 m | ||||||
S | S | x ≥ 1,5 m | ||||||||
N | N | x ≥ Anhang 6 ≥ 1,5 m | ||||||||
H | H | x ≥ Anhang 6 ≥ 1,5 m + 0,01 b | ||||||||
N | S | S | z ≥ 0,5 m | |||||||
N | S | S | z ≥ 1,5 m | |||||||
H = Hochspannungsleitung – N = Niederspannungsleitung – S = Schwachstromleitung
(Art. 101)

a ≥ 3 m + 0,01 m pro kV der höchsten Nennspannung
b ≥ 3 m + 0,01 m pro kV der höchsten Nennspannung + 0,02 m pro Meter
Abstand vom näher liegenden Überführungstragwerk
c ≥ 14 m bei Normalspurbahnen mit Wechselstrom
42 Fassung gemäss Art. 63 der V vom 4. April 2007 über Sicherheitsvorschriften für Rohrleitungsanlagen, in Kraft seit 1. Mai 2007 (AS 2007 1823).
(Art. 124 und 133)
Starkstromanlagen | Rohrleitungsanlagen | |||
Rohrleitung | Molchschleusen | Pump- und | DRM-Stationen, übrige Nebenanlagen | |
blanke oder isolierte Leiter von Freileitungen: | ||||
bis 50 kV | 3 m | 10 m | 30 m | 10 m |
über 50 kV | 10 m | 30 m | 30 m | 10 m |
Kraftwerke, Unterwerke, Schaltanlagen, inkl. Erdungen | ||||
bis 100 kV | 10 m + 0,5 m/kA Erdschlussstrom | 30 m | 50 m | 10 m + 0,5 m/kA Erdschlussstrom |
über 100 kV | 30 m | 30 m | 50 m | 30 m |
Tragwerke inkl. Erdungen | ||||
bis 50 kV | 3 m | 10 m | 30 m | 10 m |
über 50 kV | 3 m + 0,5 m/kA Erdschlussstrom | 30 m | 30 m | 10 m + 0,5 m/kA Erdschlussstrom |
Kabelleitungen | bis 50 kV | über 50 kV |
zur Rohrleitung parallelführende | 2 m Erdschicht | 3 m + 0,5 m/kA Erdschlussstrom |
Kabelabstand zu Nebenanlagen | 2 m Erdschicht | 10 m + 0,5 m/kA Erdschlussstrom |
Kreuzung einer Schwach- oder Starkstromkabelleitung | 0,5 m |
Weist die Kabelleitung eine zusätzliche Isolation auf, so kann der Abstand auf 0,5 m
Erdschicht reduziert werden. Vorbehalten bleibt Artikel 11 RLSV.
43 Redaktionell bereinigt infolge der Änd. gemäss Ziff. I der V vom 3. April 2019, in Kraft seit 1. Juni 2019 (AS 2019 1377) hiervor.
1. Titel | Allgemeine Bestimmungen | 1–11a |
1. Kapitel: | Zweck, Geltungsbereich und Begriffe | 1–4 |
2. Kapitel: | Sicherheit | 5–11a |
2. Titel | Bauvorschriften | 11b–134 |
1. Kapitel: | Anzuwendende Übertragungstechnologie | 11b –11e |
1.a. Kapitel | Freileitungen | 12–61 |
1. Abschnitt: | Schwachstromfreileitungen | 12–28 |
2. Abschnitt | Starkstromfreileitungen | 29-61 |
2. Kapitel: | Kabelleitungen | 62–77 |
1. Abschnitt: | Allgemeine Bestimmungen | 62–72 |
2. Abschnitt: | Besondere Bestimmungen für Starkstromkabelleitungen | 73–77 |
3. Kapitel: | Annäherungen, Parallelführungen und | 78–96 |
1. Abschnitt: | Allgemeine Bestimmungen | 78–82 |
2. Abschnitt: | Annäherungen, Parallelführungen und Kreuzungen von Schwachstrom- und Starkstromfreileitungen | 83–87 |
3. Abschnitt: | Annäherungen, Parallelführungen und Kreuzungen von Starkstromfreileitungen unter sich | 88–91 |
4. Abschnitt: | Parallelführungen und Kreuzungen von Kabelleitungen | 92–96 |
4. Kapitel: | Annäherungen, Parallelführungen und Kreuzungen von elektrischen Leitungen mit anderen Anlagen | 97–134 |
1. Abschnitt: | Allgemeine Bestimmung | 97 |
2. Abschnitt: | Annäherungen, Parallelführungen und Kreuzungen mit Eisenbahn-, Standseilbahn- und Trolleybusanlagen (Bahnen) | 98–104 |
3. Abschnitt: | Annäherungen, Parallelführungen und Kreuzungen von elektrischen Leitungen mit Luftseilbahnen | 105–113 |
4. Abschnitt: | Annäherungen, Parallelführungen und Kreuzungen von elektrischen Leitungen mit | 114–122 |
5. Abschnitt: | Annäherungen, Parallelführungen und Kreuzungen von elektrischen Leitungen mit Rohrleitungsanlagen | 123–128 |
6. Abschnitt: | Annäherungen, Parallelführungen und Kreuzungen von elektrischen Leitungen mit Tankanlagen | 129–134 |
3. Titel | Betrieb, Instandhaltung und Kontrolle von | 135–142 |
4. Titel | Schluss- und Übergangsbestimmungen | 143–147 |